EasyManua.ls Logo

ERS ECH Series - Page 92

ERS ECH Series
Print Icon
To Next Page IconTo Next Page
To Next Page IconTo Next Page
To Previous Page IconTo Previous Page
To Previous Page IconTo Previous Page
Loading...
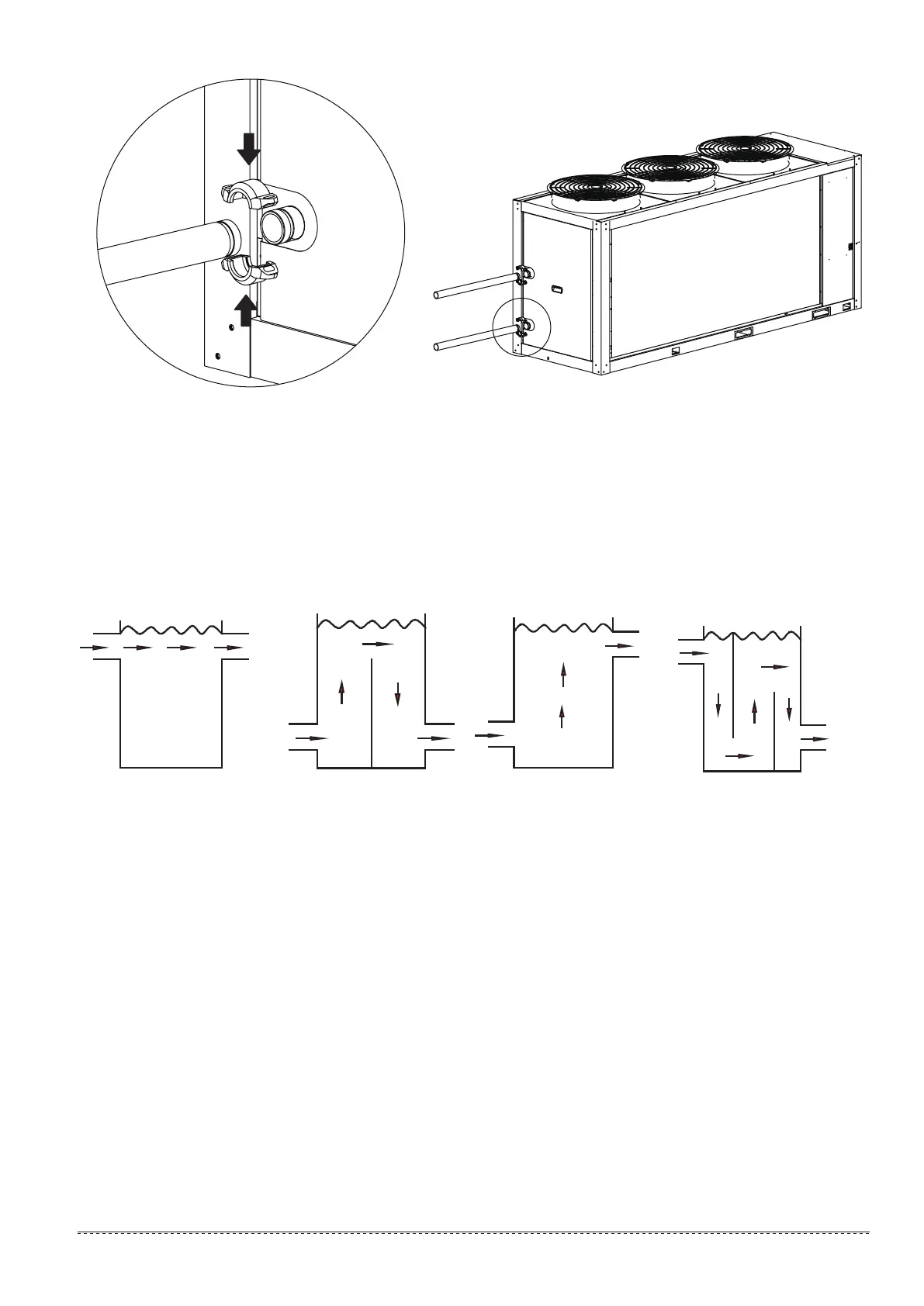
8.7.4 Design of the store tank in the system
Chilled water system minimum water volume
Chilled water system water volume can be calculated as:
Chilled wa
ter system wat
er volume
= Water pipework volume
+ Chiller heat exchanger volume
+ Water tank volume
+ FCU heat exchanger volume
From the above it
can be seen that the system water volume can be adjusted by adjusting the water pipe and/or water tank dimensions.
For replacement projects (where the pipework is already installed) the water system wa
ter volume can only be adjusted by adjusting
the water tank dimensions. If the minimum water volume requirements (as per the calculations below) indicate that the water
requirement is met by the pipework and heat exchanger volumes, a water tank is not required.
Equation 1
In certain occasion (especially in manufac
ture cooling process), for conforming the system water content requirement, its necessary to
mount a tank equipping with a cut- off baffle at the system
to avoid water short following schemes:
Error
Recommendation
Fig.4-4
Error
Recommendation
Error
Recommendation
Fig.4-4
Error
Recommendation
Fig.8-26 connection mode of ECH090N pipe
Fig.8-27 design of the store tank
37
V.2