EasyManua.ls Logo

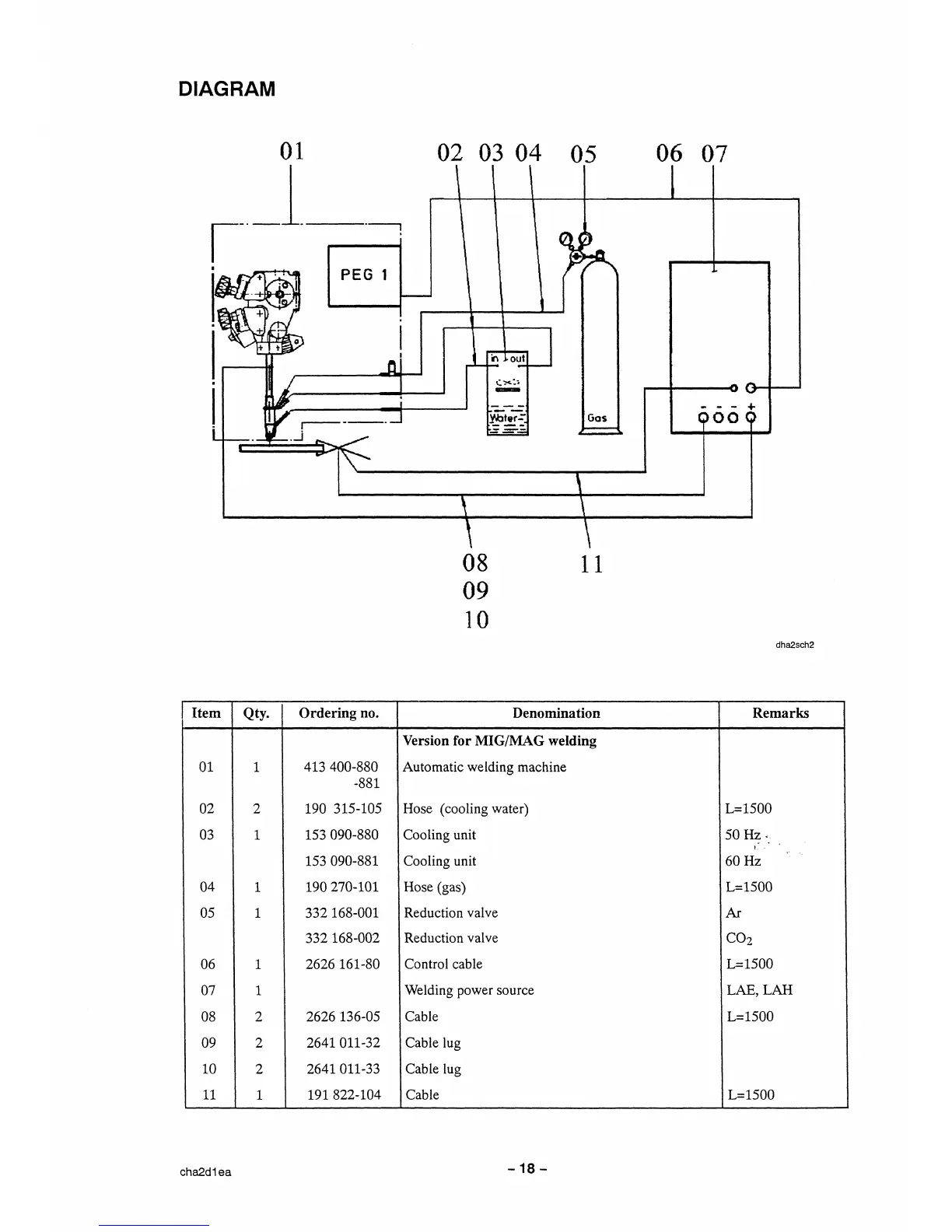
ESAB A2 Multitrac - Page 18

ESAB A2 Multitrac
66 pages
Print Icon
To Next Page IconTo Next Page
To Next Page IconTo Next Page
To Previous Page IconTo Previous Page
To Previous Page IconTo Previous Page
Loading...

Other manuals for ESAB A2 Multitrac

Related product manuals