EasyManua.ls Logo

ESCAM QF290 - Quick Setup

ESCAM QF290
5 pages
Print Icon
To Next Page IconTo Next Page
To Next Page IconTo Next Page
To Previous Page IconTo Previous Page
To Previous Page IconTo Previous Page
Loading...
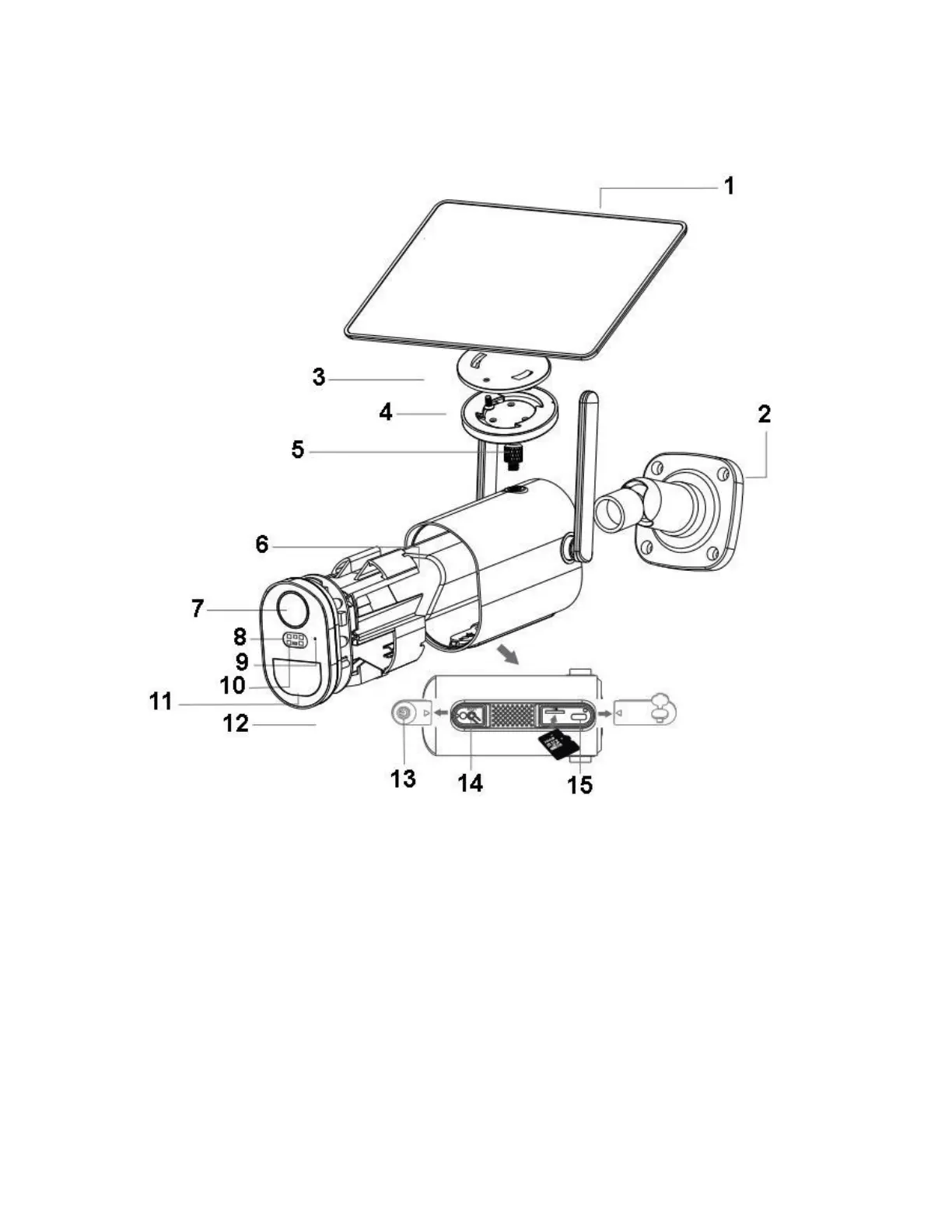
Quick setup
- Insert the USB cable of solar cable into the USB port on the bracket base for battery
charging
- Press the power switch to turn on/off the camera
- Wait for the voice prompt step by step for pairing the camera with the App
Note
- Before you turn on the camera, please close the silicone flap to avoid rain leakage
- Make sure your phone is connecting to the 2.4GHz WiFi first before you pair the
camera

Related product manuals