EasyManua.ls Logo

Eubank EAA1020A - Figure 6 A. Humidistat Wiring Details; Figure 6 B. Thermostat Connection Diagram

Eubank EAA1020A
55 pages
Print Icon
To Next Page IconTo Next Page
To Next Page IconTo Next Page
To Previous Page IconTo Previous Page
To Previous Page IconTo Previous Page
Loading...
Eubank EAA/EGA Wall Mount AC Installation & Operation Manual
05/2023 Rev.8
41
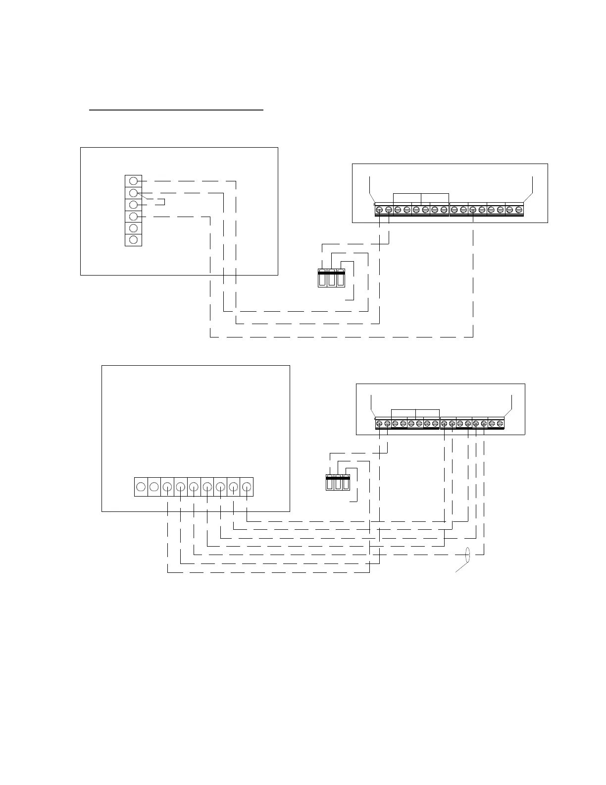
Continuous fan operation: For continuous indoor fan operation on single units, install a jumper between
terminals 8 and 3. For continuous indoor fan operation on dual units using the older LL357D4, install
jumper between 8 and 3 and remove jumper between 1 and 3.
CommStat 4 Lead /Lag Controller
Please refer to the Product Data sheet for the Commstat 4 controller for complete instructions
on installing and programming this controller.
VECF2WMUHG O1YMOCCN
TUOKCOL
CNON
MRALA
MOC
.ONOCE
SUTATS
ONCR 2Y
SNOITCENNOC MRALA DNA TATSOMREHT
U
S
S
R
U
C
DRAOB LORTNOC CAVH
CAV42
13715 NP RIAVRAM LORTNOC TATSIDIMUH-ED
Figure 6a. Humidistat Wiring to a Eubank Air Conditioner with Reheat.
RC 1Y
B/O
1W
2W2Y
G
1S
2S
NO YLNO DERIUQER
SMETSYS PMUP-TAEH
32105-70105 RIAVRAM
DRAOB LORTNOC CAVH
CAV42
VECF2WMUHG O1YMOCCN
TUOKCOL
CNON
MRALA
MOC
.ONOCE
SUTATS
ONCR 2Y
SNOITCENNOC MRALA DNA TATSOMREHT
Figure 6b. Thermostat Connection Diagram

Table of Contents

Other manuals for Eubank EAA1020A

Related product manuals