EasyManua.ls Logo

EUFAB 16612 - French; Description des Pièces; Introduction; Utilisation Conforme Aux Prescriptions

EUFAB 16612
Print Icon
To Next Page IconTo Next Page
To Next Page IconTo Next Page
To Previous Page IconTo Previous Page
To Previous Page IconTo Previous Page
Loading...
12
F Article 16612 Chargeur de batterie intelligent
Adapté aux batteries plomb-gel, l6/12 volts AGM.
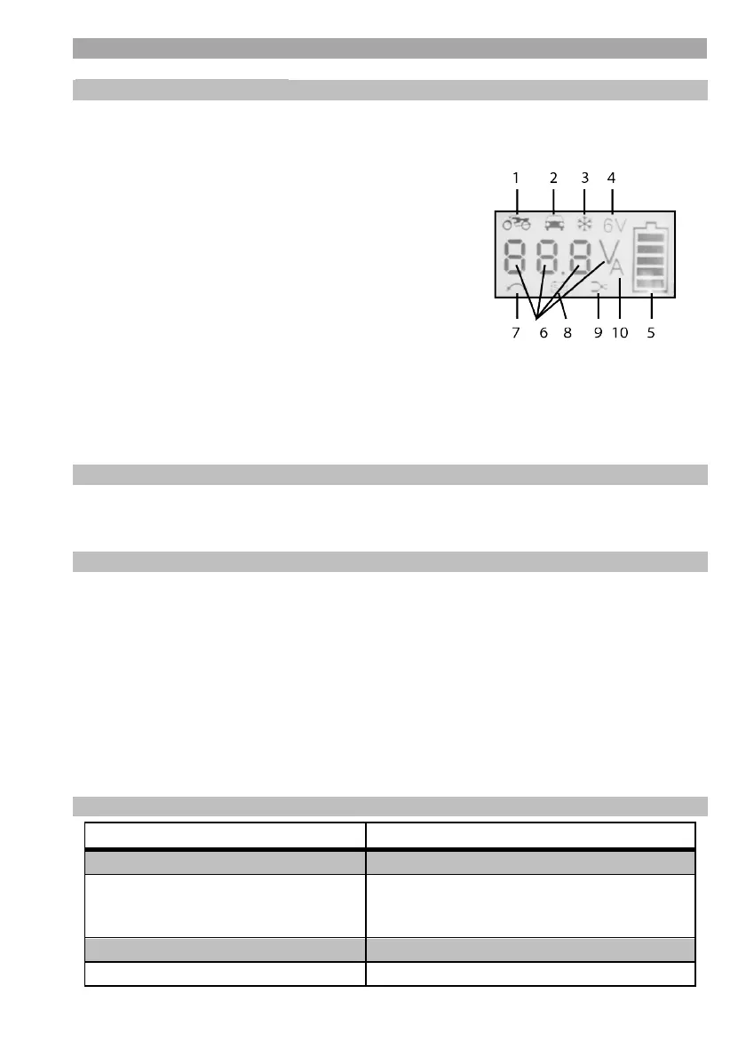
1. Description des pièces
A. Chargeur de batterie
B. Panneau de commande / écran
C. Câble de branchement au secteur
D. Câble de chargement
E. Borne de batterie noire / pôle négatif (-)
F. Borne de batterie rouge / pôle positif (+)
1. Chargement lent 12 V (12 V / 0,8A)
2. Chargement rapide 12 V (12 V / 3,8A)
3. Mode gel (seulement 12V)
4. Chargement lent 6 V (6 V / 0,8A)
5. Etat de batterie
6. Tension
7. Affichage de la polarisation
8. Batterie défectueuse
9. Borne
10. Courant de charge
2. Introduction
Nous vous remercions d'avoir choisi le chargeur de batterie EUFAB.
Lisez entièrement ce manuel de l'opérateur et prenez bien en compte toutes les
instructions et les spécifications.
3. Utilisation conforme aux prescriptions
Le chargeur de batterie a été conçu pour le chargement de batteries au plomb,
de batteries gel et de batteries AGM avec une tension de 6 ou 12 V. Les autres
batteries ne peuvent pas être chargées avec cet appareil.
Le chargeur ne peut pas être utili comme aide au démarrage. Chargez
d'abord complètement la batterie du véhicule puis débranchez le chargeur
avant de faire démarrer le véhicule.
Le chargeur ne peut pas être utilisé comme source de courant continu ou pour
d'autres fonctions.
Le chargeur de batterie est conçu pour être utilisé dans un environnement sec
et à l'abri des températures allant de -5 °C jusqu'à +40 °C.
4. Spécifications
Tension d'entrée :
220-240 V ~ 50/60 Hz
Courant d'entrée :
0,6A
Sortie :
Rapide : 12V / 3,8A
Lente : 12V / 0,8A
6V: 6V / 0,8A
Batterie au plomb :
Max. 120 Ah
Classe de protection :
IP65

Table of Contents

Related product manuals