EasyManua.ls Logo

EUFAB 16612 - Italian; Denominazione Dei Componenti; Introduzione; Uso Appropriato

EUFAB 16612
Print Icon
To Next Page IconTo Next Page
To Next Page IconTo Next Page
To Previous Page IconTo Previous Page
To Previous Page IconTo Previous Page
Loading...
20
I N. art. 16612 Caricabatterie intelligente
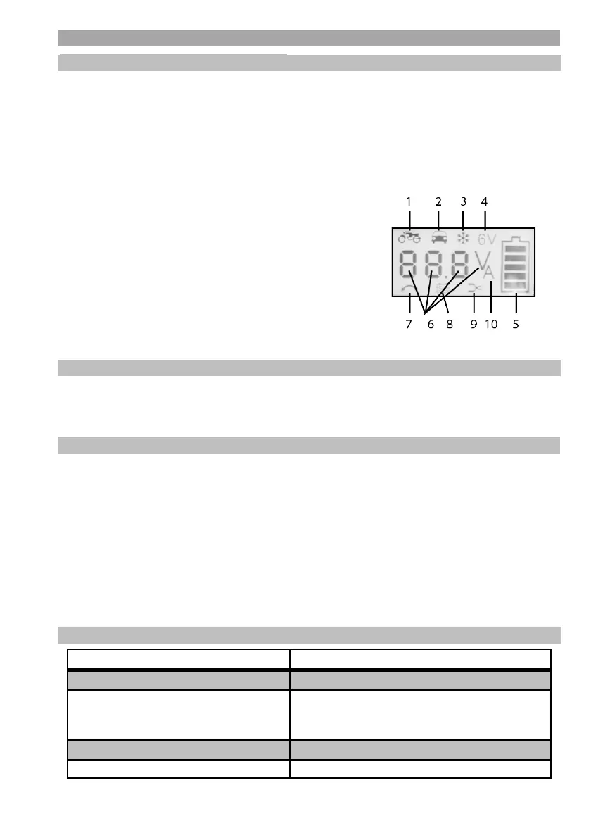
1. Denominazione dei componenti
A. Caricabatterie
B. Pannello di comando / Display
C. Cavo di collegamento alla rete
D. Cavo di carica
E. Morsetto per batteria nero / polo negativo (-)
F. Morsetto per batteria rosso / polo positivo (+)
1. Carica lenta con 12V (12V / 0,8A)
2. Carica veloce con 12V (12V / 3,8A)
3. Modalità invernale (solo 12V)
4. Carica lenta con 6V (6V / 0,8A)
5. Stato della batteria
6. Tensione
7. Indicazione dell’inversione della polarità
8. Batteria difettosa
9. Morsetto
10. Corrente di carica
2. Introduzione
La ringraziamo per aver optato per il caricabatterie della EUFAB.
Leggere attentamente queste istruzioni per l’uso e rispettare tutte le indicazioni
e specificazioni.
3. Uso appropriato
Il caricabatterie è concepito per la carica di batterie al piombo, al gel e AGM con
una tensione di 6 oppure 7V. Non caricare altre batterie con questo
apparecchio.
Il caricabatterie non deve essere usato come ausilio per l’avviamento. Caricare
dapprima completamente la batteria del veicolo e scollegare il caricabatterie
prima di avviarlo.
Il caricabatterie non deve essere usato come sorgente di corrente continua o
per altri fini.
Il caricabatterie è progettato per l’uso in un ambiente asciutto e protetto e
temperature da -5 a +40°C.
4. Specificazioni
Tensione di ingresso:
220-240 V ~ 50/60 Hz
Corrente di ingresso:
0,6A
Uscita:
veloce: 12V / 3,8A
lento: 12V / 0,8A
6V: 6V / 0,8A
Batteria al piombo:
Max. 120 Ah
Classe di protezione:
IP65

Table of Contents

Related product manuals