EasyManua.ls Logo

EV-PEAK U4 - CONNECTING; Power and Battery Connection; Connection Precautions

Default Icon
8 pages
Print Icon
To Next Page IconTo Next Page
To Next Page IconTo Next Page
To Previous Page IconTo Previous Page
To Previous Page IconTo Previous Page
Loading...
3
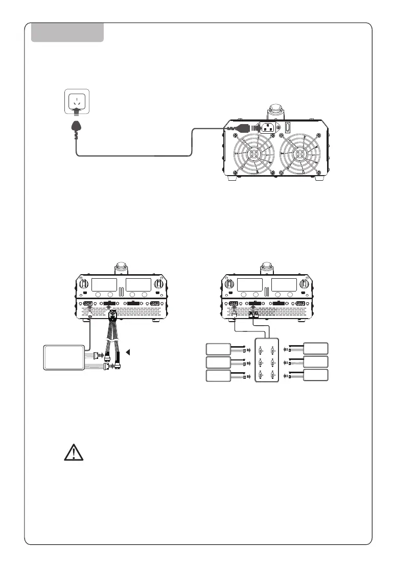
1. Connect power cable to the charger U4, and to the power
socket(AC100~240V,50/60Hz), and switch on and LED display on.
2. Connect LiPo-12S battery or the charger manager UB4.
AC Input
1. Before connecting, please check carefully whether terminals
and cables are damaged or broken.
2. When using the banana head, be sure to connect it with
right and correct positive or negative indicator.
CONNECTING
Direct Connecting Diagram Charging Manager Connecting Diagram
Charging
Manager
LiPo
LiPo
LiPo
LiPo
LiPo
LiPo
LiPo
Adapter cable