EasyManua.ls Logo

Everdure CBEE61 - Operating Instructions; Turning On and Off the Cooktop

Everdure CBEE61
12 pages
Print Icon
To Next Page IconTo Next Page
To Next Page IconTo Next Page
To Previous Page IconTo Previous Page
To Previous Page IconTo Previous Page
Loading...
DESIGNED TO PERFECTION
OPERATING INSTRUCTIONS
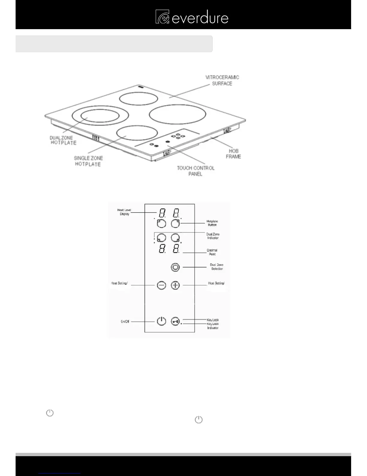
The basic layout of the cooktop is shown in the diagram below.
The cooktop appliance is operated by touching buttons, with the functions confirmed by LED displays and
acoustic signals.
Turning On and Turning Off the Cooktop Appliance
If the appliance is in
Stand-By-Mode,
it is put into
Operating-Mode
by pressing the
On/Off
button for at least 1
second. A beep signal indicates the successful operation acoustically.
On all Heat Level Displays a ´0` will appear and all
Decimal Points
of the Heat Level displays will flash (1
second on, 1 second off).
If there is no operation within 10 seconds, all the Heat Level Displays will automatically turn off. If the displays
are turned off, the hotplates will be re-set into
Stand-By-Mode
.
If is pressed more than 2 seconds (in
Operating-Mode
), the appliance is switched off and is set into the
S-
Mode
again. The appliance can be turned off by pressing at any time; even if other buttons are pressed
simultaneously.
If there is a residual heat of a hotplate remaining, this will be indicated in the correspondent heat setting Heat
Level
Display as a red “H”
.
8

Related product manuals