EasyManua.ls Logo

EVERVIEW EV2001SD - Step 6: Tilt Adjustment; Adjust Tilt Hardness

Default Icon
12 pages
Print Icon
To Next Page IconTo Next Page
To Next Page IconTo Next Page
To Previous Page IconTo Previous Page
To Previous Page IconTo Previous Page
Loading...
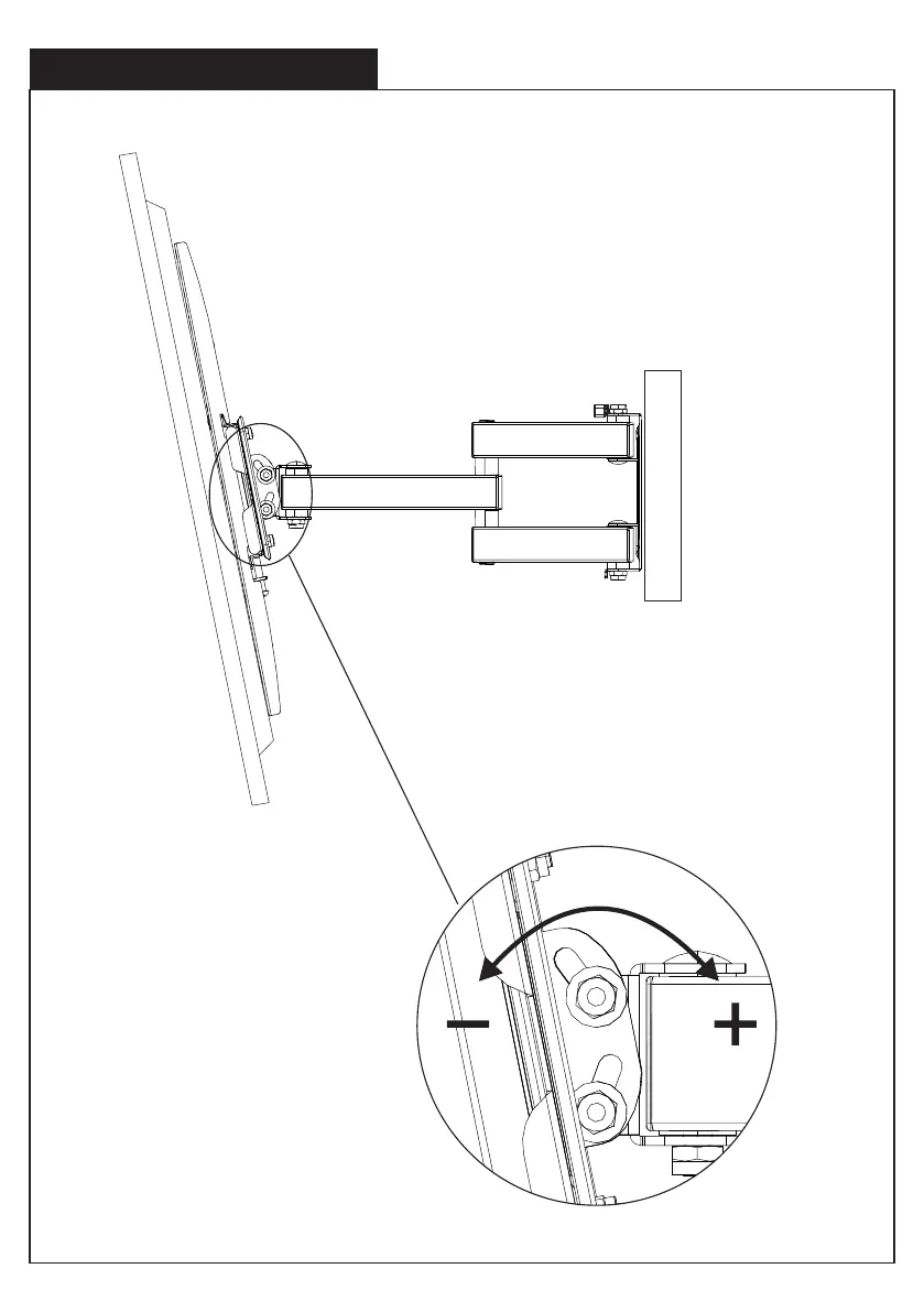
Step 6 Tilt adjustment
Tilt adjustment
If mount can not tilt freely,
pls adjust the hardness of
nut in both sides.

Related product manuals