EasyManua.ls Logo

Fagor 4CF-564E - Page 24

Fagor 4CF-564E
34 pages
Print Icon
To Next Page IconTo Next Page
To Next Page IconTo Next Page
To Previous Page IconTo Previous Page
To Previous Page IconTo Previous Page
Loading...
6
)5
3.1 PLAQUE ELECTRIQUE
Attention !
Si vous remarquez des fêlures sur la plaque électrique, débranchez
immédiatement l’appareil du réseau électrique puis appelez le service
technique recommandé par le constructeur.
Dessin 3 Tableau n°2 Intervalles du régulateur à 7 positions
La puissance de la plaque est réglée à l’aide du sélecteur à 7
positions. Cette gestion permet la distribution correcte et
économique de la chaleur vers le plat à cuisiner.
Sur le sélecteur qui peut être tourné dans les deux sens, il y a
des chiffres allant de 1à 6 (dessin n°3). Ces chiffres répondent
à une puissance précise de la plaque.
Important !
1. Il est interdit d’allumer la plaque avant de mettre une casserole à fond plat,
à l’exception de la première utilisation.
2. Si la plaque n’est pas utilisée pendant une période prolongée, il est conseillé
de couvrir sa surface d’une couche de produit d’entretien.
3. Eviter de souiller la surface de la plaque car il est difficile d’éliminer les
graisses brûlées.
Dessin 2
L
1
L
2
L
3
N
230V
230V
230V
PE
L
1
L
L
2
3
NN
3N ~400V 50Hz
5 x 1,5 mm
2
L
1
L
2
N
230V
230V
PE
L
1
L
L
2
3
NN
2N ~400V 50Hz
4 x 2,5 mm
2
L
1
N
230V
PE
L
1
L
L
2
3
NN
1N ~230V 50Hz
3x6mm
2
L
1
L
230V
PE
L
1
L
L
2
3
NN
2 ~230V 50Hz
3x6mm
2
2
L
1
L
2
L
230V
230V
230V
PE
L
1
L
L
2
3
NN
3 ~230V 50Hz
4 x 2,5 mm
2
3
3 TABLE DES FOYERS
TABLE DES FOYERS
0
1
3
2
4
5
6
Position du sélecteur Types de cuisson
6
5
4
3
2
1
0
cuisson rapide ou gratin
grillade plus forte de viande ou de poisson
Grillade douce
Cuisson lente de plats de grandes quantités, de soupes épaisses
Cuisson a la vapeur de pommes de terre, soupes
Cuisson a la vapeur de légumes, de poisson au naturel
Plaque éteinte
4CF - 644 E
4CF - 564 E
Int. nominale par phase/Protection
34,8 A/40A; 26,1A/32A; 15,2A/16A; 34,8 A/40A; 19,6A/20A
35,7 A/40A; 26,1A/32A; 15,2A/16A; 35,7 A/40A; 20,4A/25A
11
37
- coloque na extremidade da propulsão o espeto m, empurrar até sentir resistência
e encostar a segunda extremidade do espeto no jogo;
- retirar o cabo do espeto, colocar a protecção para os manípulos e abrir a porta do
forno;
- ligue o forno, ajuste a temperatura e eventualmente o tempo de funcionamento.
4.6 INDICAÇÕES GERAIS PARA A PREPARAÇÃO DE COMIDAS
4.6.1 INDICAÇÕES RELACIONADAS COM A UTILIZAÇÃO DO FORNO
O desligar do piloto de controle sinaliza obtenção da temperatura desejada dentro
do forno.
Ao seleccionar a temperatura desejável com a qual vai efectuar a cozedura deve
cumprir as seguintes regras:
Massa estendida de camadas finas - potência forte, curto período de cozedura.
Massa grossa ou a massa líquida - potência mais fraca, tempo de cozedura mais
longo.
Para averiguar se o bolo está pronto, deve-se, quando faltarem uns minutos para
desligar o forno, meter um palito no bolo; se o bolo não se pegar - está pronto.
Depois de cozido, deixe o bolo no forno por uns 5 minutos .
4.6.2 ASSAR NO FORNO
O assar tradicional deverá ser efectuado coma resistência superior e inferior e ajustar
a temperatura. Pode colocar a comida após o piloto da temperatura desligar.
Na câmara do forno pode preparar cada tipo de comida. Pode assar a carne no tabuleiro
ou na grelha acompanhada do tabuleiro por baixo.
No momento de assar na câmara do forno deve cumprir s regras seguintes:
Manter a temperatura apropriada do assado!
A temperatura do assado depende, sobretudo do tipo e tamanho da carne. Em
geral assa-se com temperaturas de 200-250 °C.
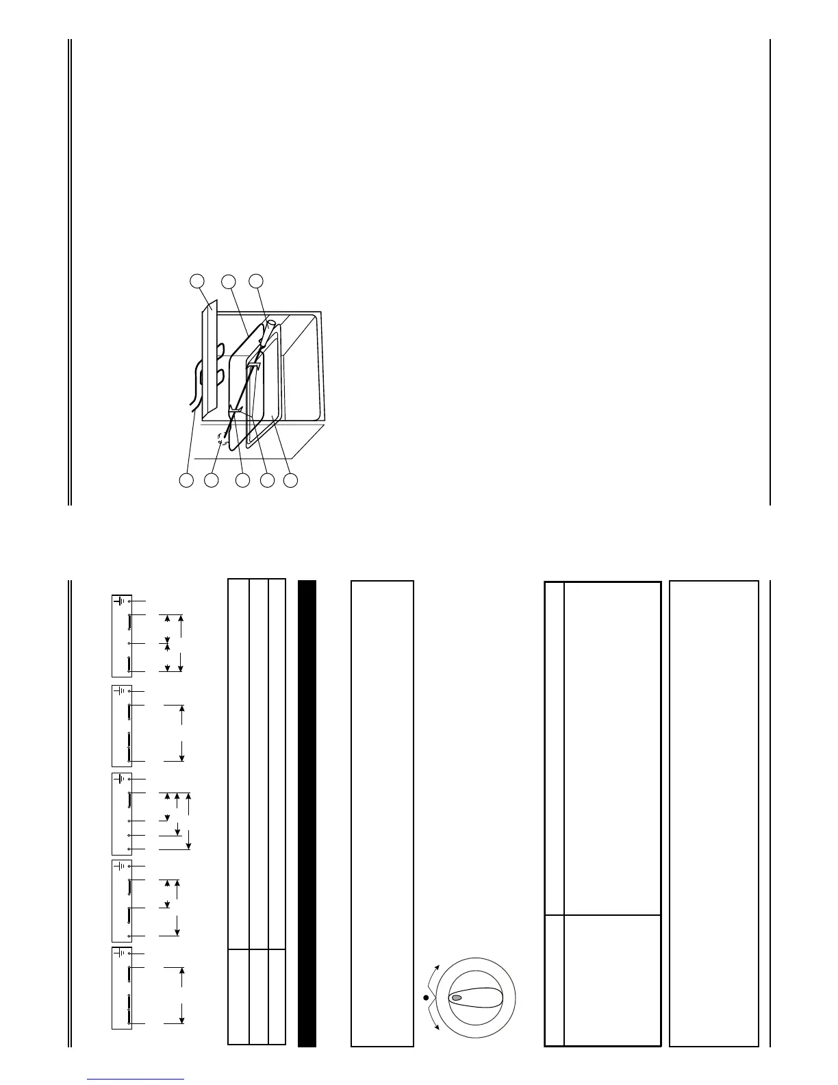
Fig. 11
1 - resistência do grill;
2 - propulsão do espeto;
3 - garfos;
4 - vara do espeto;
5 - tabuleiro;
6 - jogo do espeto;
7 - protecção para os manípulos;
8 - cabo do espeto.
FORNO
3
4
5
6
8
1
2
7

Related product manuals