EasyManua.ls Logo

Fagor 4CF-564E - Page 25

Fagor 4CF-564E
34 pages
Print Icon
To Next Page IconTo Next Page
To Next Page IconTo Next Page
To Previous Page IconTo Previous Page
To Previous Page IconTo Previous Page
Loading...
10
37
AQUECIMENTO COM RESISTÊNCIA SUPERIOR
É a função preferível para acabamento das cozeduras. Através desta é possível
gratinar. Este método pode ser aproveitado também para grelhar a comida (p. ex.
torradas).
GRELHAR TRADICIONAL
IMPORTANTE!
Durante o processo de grelhado, não se afaste do fogão. A câmara do forno
fica quente! Mantenha as crianças afastadas!
Utilização do grill
- Aqueça inicialmente o forno à temperatura máxima,
- Coloque a comida no forno na guia superior,
- Coloque o tabuleiro para acumular a gordura na guia inferior,
- Coloque a protecção dos manípulos e abra a porta do forno (fig. 10),
- O manípulo de comutador de temperatura coloque-o na posição
,
- Ajustar a temperatura desejada e, se quiser, considere o tempo de grelhado,
- Passado metade do tempo virar as porções.
FORNO
Fig. 10 Colocação da protecção dos manípulos
GRELHADO NO ESPETO
O espeto serve para grelhar rotativamente os alimentos como aves, chouriços, salsichas,
etc.
Utilização do forno:
- retirar do forno o equipamento que sobrar e colocar o jogo do espeto;
- colocar na vara do espeto um dos garfos e colocar o alimento na vara de forma a
que fique situado simetricamente com respeito a esta; colocar o segundo do
garfo e fixá-lo de forma a que não se desloque aparafusando-o;
7
)5
TABLE DES FOYERS
Cuisson
Pour faire cuire il faut mettre le sélecteur sur
la position 6 et ensuite sur la position 2; en
cas de besoin, mettre le sélecteur sur une
autre position.
Grillade
Pour faire une grillade il faut mettre le
sélecteur sur la position 6 pour faire chauffer
la graisse. Ensuite mettre le sélecteur sur la
position 4. En cas de besoin, mettre le
sélecteur sur une autre position.
Il est conseillé d’éteindre la plaque 5 à 6 minutes avant la fin de la cuisson pour
consommer toute la puissance restituée.
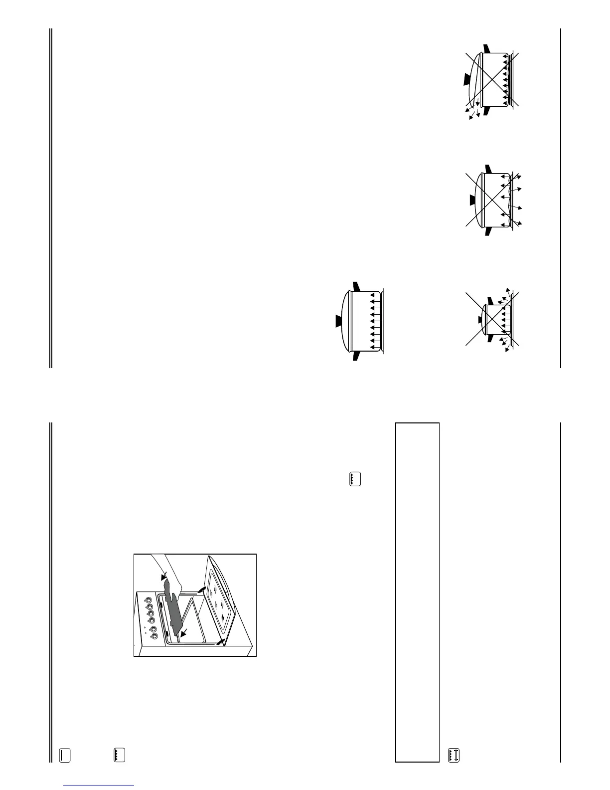
3.2 CHOIX DE LA VAISSELLE
Les casseroles servant à faire bouillir devront avoir un fond épais, plat et sec, avec
un diamètre un peu plus grand que celui de la plaque chauffante. Si la casserole a
un diamètre inférieur à la plaque, une grande partie de la chaleur reste non utilisée.
Des fonds gondolés allongent le temps de cuisson et provoquent des pertes
d’énergie électrique.
Les casseroles en verre, résistant à des températures de cuisson sur les plaques
chauffantes devront avoir une taille égale à celle de la plaque. Les casseroles dont
le diamètre est largement supérieur à celui de la plaque risquent d’éclater. Il est
interdit de mettre de l’eau froide dans une casserole brûlante ainsi que de la poser
sur des surfaces froides.
Toute casserole devra être munie d’un couvercle pour éviter qu’une trop grande
quantité de vapeur ne s’accumule dans la cuisine.
Dessin 4
Correct !
Petite consommation de courant
Bonne transmission de la chaleur
- casserole lisse
- casserole ayant une taille égale à celle de la
plaque
- le couvercle est bien posé sur la casserole
Incorrect !
grande consommation de courant
mauvaise transmission de la chaleur
temps trop long de cuisson
Le couvercle n’est pas
bien posé sur la casserole
La casserole est
trop petite
Le fond de la casserole
est gondolé
Dessin 5

Related product manuals