EasyManua.ls Logo

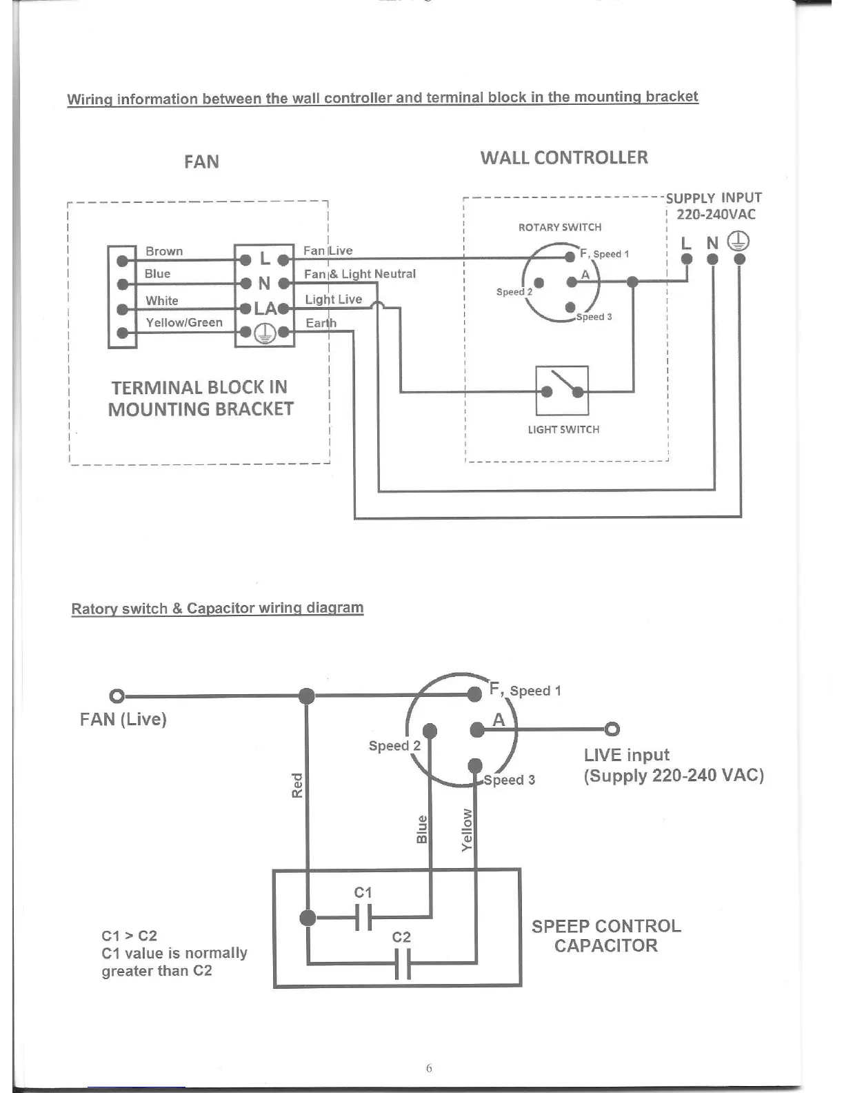
Fanaway EVO2 - Rotary Switch & Capacitor Wiring Diagram

Fanaway EVO2
9 pages
Print Icon
To Next Page IconTo Next Page
To Next Page IconTo Next Page
To Previous Page IconTo Previous Page
To Previous Page IconTo Previous Page
Loading...

Related product manuals