EasyManua.ls Logo

Fantek FT-6520 - Page 14

Default Icon
41 pages
Print Icon
To Next Page IconTo Next Page
To Next Page IconTo Next Page
To Previous Page IconTo Previous Page
To Previous Page IconTo Previous Page
Loading...
USER MANUAL FOR FT TOWERS 13
Figure 29
Place the reinforcement bars and fix them with
its pins to frontal legs.
Figure 30
Place the tower in its working position and level
until the bubble level is centered. Wheels should
not come into contact with the ground.
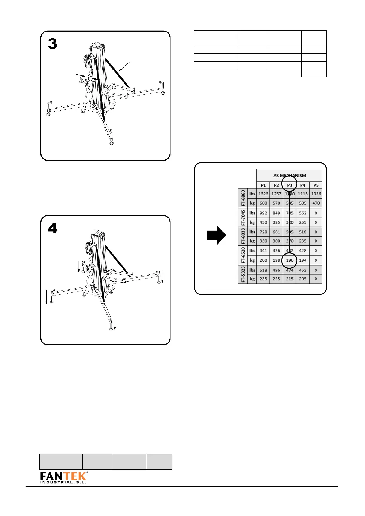
Calculate the load to be lifted with the tower.
An example of basic load calculation is attached.
ITEM
WEIGHT
(kg)
QUANTITY
TOTAL
(kg)
line array
accessory
5,5
1
5,5
Bumper
35
1
35
Loudspeakers
28
4
112
Cables
20
1
20
172,5
Figure 31
In this example we have obtained a weight of
172,5 kg.
With that load, see what position the load should
have on the forks of the tower. Take into account
that the inclination of the loudspeakers and the
bumper should not support any part of the
tower.
Figure 32
Choose the FT tower model. Check for the value
immediately above the load you need. With this
value, take the farthest position to which the
accessory for flying must be placed. It is
recommended that this position is always as
close to the carriage.

Related product manuals