EasyManua.ls Logo

FATEK FBs-24X - Connection Diagrams of Various Models; NC Control Main Unit (MN)

FATEK FBs-24X
67 pages
Print Icon
To Next Page IconTo Next Page
To Next Page IconTo Next Page
To Previous Page IconTo Previous Page
To Previous Page IconTo Previous Page
Loading...
H1-10
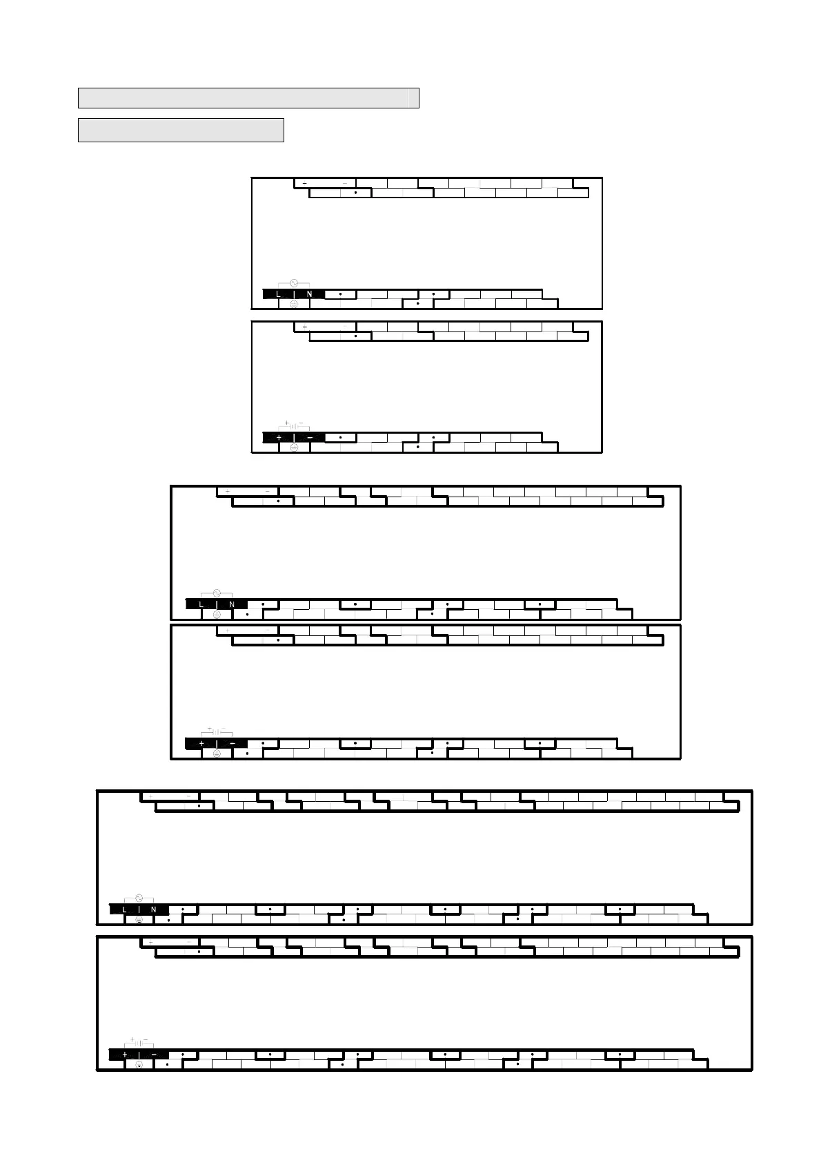
1.7 Connection Diagrams of Various Models
[7.62mm Detachable Terminal Block]
z 20 point digital I/O main unit (12 points IN, 8 points OUT)
Y6Y4Y2Y1-Y0-
SG0
Y0+ Y1+
C2
Y3
Y5
Y7
X10
AC100~240V
X2X0+
24V OUT
S/S
X1+
X0- X1-
X4
X3
X5
X6
X7
X8
X9
X11
400mA
max.
IN
FBS-20MN◇△-AC
Y6Y4Y2Y1-Y0-
SG0
Y0+ Y1+
C2
Y3
Y5
Y7
X10
X2X0+
24V OUT
S/S
X1+
X0- X1-
X4
X3 X5
X6
X7
X8
X9
X11
FBS-20MN◇△-D24/D12
max.
400mA
IN
24VDC / 12VDC
z 32 point digital I/O main unit (20 points IN, 12 points OUT)
X0-
Y1+
Y0-
Y0+
AC100~240V
S/S
24V OUT
X0+
Y8 Y10Y6Y4Y3-Y2-Y1-
Y2+
SG0
Y3+
C4
Y5
Y7
C8
Y9 Y11
X1-
X1+ X2
X4-
X4+
X3
X5
+ X6
X5-
X8
X7
X9
X10
X11
X12 X16
X13
X14
X15
X18
X17 X19
max.
400mA
IN
FBS-32MN◇△-AC
X0-
Y1+
Y0-
Y0+
S/S
24V OUT
X0+
Y8 Y10Y6Y4Y3-Y2-Y1-
Y2+
SG0
Y3+
C4
Y5
Y7
C8
Y9 Y11
X1-
X1+ X2
X4-
X4+
X3
X5
+ X6
X5-
X8
X7 X9
X10
X11
X12 X16
X13
X14
X15
X18
X17 X19
FBS-32MN◇△-D24/D12
max.
400mA
IN
24VDC/ 12VDC
z 44 point digital I/O main unit (28 points IN, 16 points OUT)
X19
Y11
Y10Y8Y6- Y7-Y4- Y5-Y3-Y2-Y0- Y1-
Y4+Y0+ Y1+
SG0
Y3+Y2+ Y7+
SG4
Y5+ Y6+
C8
Y9
X7
AC100~240V
X1-
24V OUT
S/S
X0-
X0+ X1+
X4-
X2
X3
X4+
X5-
X5+
X6
X12-X9-X8-
X8+ X9+
X11
X10
X12+
X15
X13-
X13+
X14
X17
X16 X18
Y14Y12
Y13
C12
Y15
X27X23X21
X20 X22
X25
X24 X26
max.
400mA
IN
FBS-44MN◇△-AC
X19
Y11
Y10Y8Y6- Y7-Y4- Y5-Y3-Y2-Y0- Y1-
Y4+Y0+ Y1+
SG0
Y3+Y2+
Y7+
SG4
Y5+
Y6+
C8
Y9
X7X1-
24V OUT
S/S
X0-
X0+ X1+
X4-
X2
X3
X4+
X5-
X5+ X6
X12-X9-X8-
X8+ X9+
X11
X10
X12+
X15
X13-
X13+
X14
X17
X16 X18
Y14Y12
Y13
C12
Y15
X27X23X21
X20 X22
X25
X24 X26
FBS-44MN◇△-D24/D12
max.
400mA
IN
24VDC / 12VDC
1.7.1 NC Control Main Unit
AC
Power
DC
Power
AC
Power
AC
Power
DC
Power
DC
Power

Table of Contents

Related product manuals