EasyManua.ls Logo

FATEK FBs-2TC - Page 15

FATEK FBs-2TC
67 pages
Print Icon
To Next Page IconTo Next Page
To Next Page IconTo Next Page
To Previous Page IconTo Previous Page
To Previous Page IconTo Previous Page
Loading...
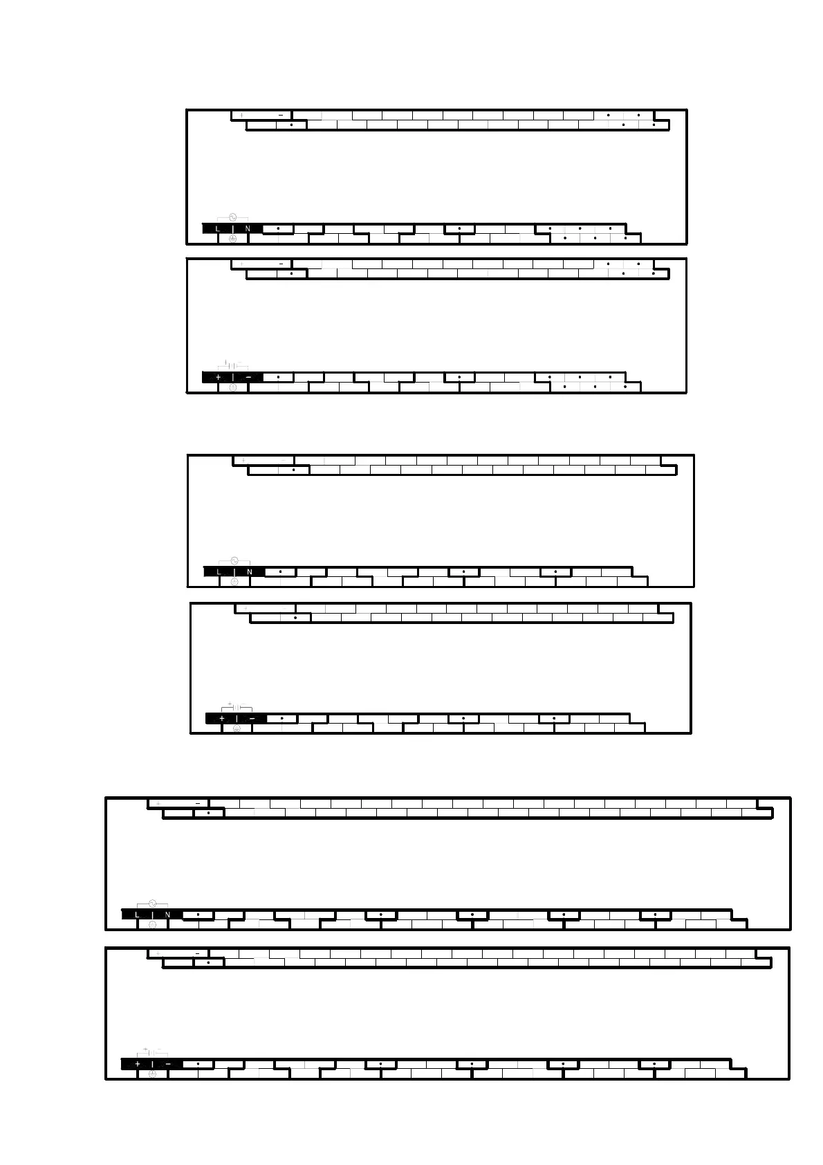
H1-12
z 32 point digital I/O main unit (20 points IN, 12 points OUT)
AC
Power
DC
Power
Y8
AC100~240V
Y4Y1
C0
Y0
Y2
C2
Y3
Y6
Y5
C4 C6
Y7
C8
Y10
Y9 Y11
24V OUT
X12
X4X0
S/S
X2
X1 X3
X8X6
X5 X7
X10
X9
X11
X16X14
X13 X15
X18
X17 X19
IN
400mA
max.
FBS-32MA◇△-AC
FB
S-32MB◇△-AC
FB
S-32MC◇△-AC
Y8Y4Y1
C0
Y0
Y2
C2
Y3
Y6Y5
C4 C6
Y7
C8
Y10
Y9 Y11
24V OUT X12
X4X0
S/S
X2
X1 X3
X8X6
X5 X7
X10
X9
X11
X16X14
X13 X15
X18
X17 X19
FBS-32MA◇△-D24/D12
FB
S-32MB◇△-D24/D12
FB
S-32MC◇△-D24/D12
IN
400mA
max.
24VDC/ 12VDC
z 40 point digital I/O main unit (24 points IN, 16 points OUT)
AC
Power
DC
Power
X21
Y15
C4
AC100~240V
C0 C2
Y0
Y1
Y3
Y2 Y4
Y9
Y7
C6
Y5 Y6
C8
Y8
C12
Y11
Y10
Y13
Y12 Y14
X5
24V OUT
S/S
X1
X0
X3
X2 X4
X13
X9
X7
X6 X8
X11
X10 X12
X17X15
X14 X16
X19
X18
X20
X23
X22
IN
400mA
max.
FBS-40MA◇△-AC
FB
S-40MB◇△-AC
FB
S-40MC◇△-AC
X21
Y15
C4C0 C2
Y0
Y1
Y3
Y2 Y4
Y9
Y7
C6
Y5
Y6
C8
Y8
C12
Y11
Y10
Y13
Y12 Y14
X5
24V OUT
S/S
X1
X0
X3
X2 X4
X13
X9X7
X6 X8
X11
X10 X12
X17X15
X14 X16
X19
X18
X20
X23
X22
FBS-40MA◇△-D24/D12
FB
S-40MB◇△-D24/D12
FB
S-40MC◇△-D24/D12
IN
400mA
max.
24VDC / 12VDC
z 60 point digital I/O main unit (36 points IN, 24 points OUT)
AC
Power
DC
Power
24V OUT X28X12
Y8
Y4Y1
Y0
C0
AC100~240V
C2 Y3
Y2
Y6
C4 C6
Y5
C8
Y7
X4X0
S/S
X2
X1 X3
X8X6
X5 X7
X10
X9
X11
Y14
Y11Y9
Y10
Y13C12
Y12 Y16
C16Y15 Y17 Y19
Y18
X20X16X14
X13 X15
X18
X17 X19
X24X22
X21 X23
X26
X25 X27
Y21C20
Y20
Y23
Y22
X32X30
X29 X31
X34
X33 X35
IN
400mA
max.
FBS-60MA◇△-AC
FB
S-60MB◇△-AC
FB
S-60MC◇△-AC
24V OUT X28X12
Y8
Y4Y1
Y0
C0 C2
Y3
Y2
Y6
C4 C6
Y5
C8
Y7
X4X0
S/S
X2
X1 X3
X8X6
X5 X7
X10
X9
X11
Y14
Y11Y9
Y10
Y13
C12
Y12 Y16
C16
Y15 Y17 Y19
Y18
X20X16X14
X13 X15
X18
X17 X19
X24X22
X21 X23
X26
X25 X27
Y21
C20
Y20
Y23
Y22
X32X30
X29 X31
X34
X33 X35
FBS-60MA◇△-D24/D12
FB
S-60MB◇△-D24/D12
FB
S-60MC◇△-D24/D12
IN
400mA
max.
24VDC / 12VDC

Table of Contents

Related product manuals