EasyManua.ls Logo

FATEK FBs-6AD - Page 17

FATEK FBs-6AD
348 pages
Print Icon
To Next Page IconTo Next Page
To Next Page IconTo Next Page
To Previous Page IconTo Previous Page
To Previous Page IconTo Previous Page
Loading...
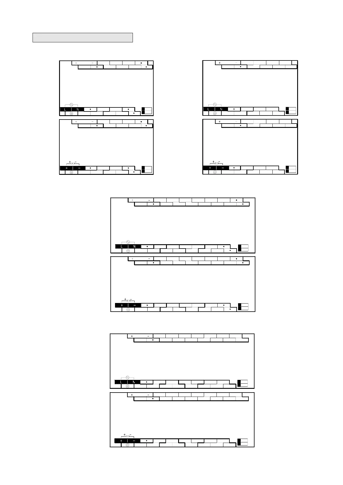
H1-10
[7.62mm Terminal Block, fixed in model MA, detachable in models MC/MN]
z 10 point digital I/O main unit (6 points IN, 4 points OUT) z 14 point digital I/O main unit (8 points IN, 6 points OUT)
AC
Power
DC
Power
S/S
24V OUT
C0
AC100~240V
C2
Y0
Y1
Y3
Y2
SINK
SRCE
X5X1
X0
X3
X2 X4
FBS-10MA / FBS-10MC
max.
400mA
IN
S/S
24V OUT
C0
C2
Y0
Y1
Y3
Y2
SINK
SRCE
X5X1
X0
X3
X2 X4
FBS-10MA-D / FBS-10MC-D
24VDC
max.
400mA
IN
AC
Power
DC
Power
C2
AC100~240V
C0
Y0
Y1
Y5Y3
Y2 Y4
SINK
SRCE
X1
24V OUT
S/S
X0
X5X3
X2 X4
X7
X6
FBS-14MA / FBS-14MC
400mA
max.
IN
C2C0
Y0
Y1
Y5Y3
Y2 Y4
SINK
SRCE
X1
24V OUT
S/S
X0
X5X3
X2 X4
X7
X6
FBS-14MA-D / FBS-14MC-D
24VDC
max.
400mA
IN
z 20 point digital I/O main unit (12 points IN, 8 points OUT)
AC
Power
DC
Power
AC100~240V
C0
Y1
Y0
Y2
C2
Y4
Y3
Y6Y5
C4 C6
Y7
SINK
SRCE
24V OUT
S/S
X0 X2
X1
X4
X3
X8X6
X5
X7
X10
X9 X11
FBS-20MA / FBS-20MC
400mA
max.
IN
C0
Y1
Y0
Y2
C2
Y4
Y3
Y6Y5
C4 C6
Y7
SINK
SRCE
24V OUT
S/S
X0 X2
X1
X4
X3
X8X6
X5
X7
X10
X9 X11
FBS-20MA-D / FBS-20MC-D
24VDC
400mA
max.
IN
z 24 point digital I/O main unit (14 points IN, 10 points OUT)
AC
Power
DC
Power
Y6Y1
AC100~240V
C0
Y0
Y4
Y2
C2 Y3
Y5
C4 C6
Y8
Y7 Y9
SINK
SRCE
X8X0
24V OUT
S/S
X4X2
X1 X3
X6
X5 X7
X12X10
X9 X11 X13
FBS-24MA / FBS-24MC
max.
400mA
IN
Y6Y1
C0
Y0
Y4
Y2
C2 Y3
Y5
C4 C6
Y8
Y7 Y9
SINK
SRCE
X8X0
24V OUT
S/S
X4X2
X1 X3
X6
X5 X7
X12X10
X9 X11 X13
FBS-24MA-D / FBS-24MC-D
24VDC
max.
400mA
IN
1.7.2 Basic/Advanced Main Unit

Other manuals for FATEK FBs-6AD

Related product manuals