EasyManua.ls Logo

Fedders A6Q10F2B - Installation Safety and Electrical Requirements; Power Cord Arc Detection Device; Electrical Shock Hazard; Important Grounding Requirements

Fedders A6Q10F2B
8 pages
Print Icon
To Next Page IconTo Next Page
To Next Page IconTo Next Page
To Previous Page IconTo Previous Page
To Previous Page IconTo Previous Page
Loading...
2
ELECTRICAL REQUIREMENTS
& SAFETY PRECAUTIONS
INSTALLATION
Warning
WARNING
Do not remove or modify this plug
Do not use as an on/off switch
Do not use outdoors
Do not push furniture against or place
furniture on the electrical cord. This can trip
the test switch and/or damage the cord and
become a potential condition for arcing
Do not attempt to repair the cord. If the cord
requires replacement, call an authorized
servicer.
The Arc Detection Device is not a Ground
Fault Interrupter and should not be used as
such
The Arc Detection Device contains an
electronic circuit board and should not be
submerged or exposed to water spray
Resetting
If the Arc Detection Device has tripped, the
reset button will pop up.
Follow these steps to reset the Arc Detection
Device:
1. Unplug unit from electrical outlet
2. Press the reset button
3. Plug the unit back into electrical outlet
4. Check to see if power has returned to the
unit
Testing
You should test the Arc Detection Device
equipped power cord monthly, after every
major electrical storm, or if power to your
Room Air Conditioner has been interrupted.
Follow these steps to test the Arc Detection
Device:
1. Unplug unit from electrical outlet
2. Press the reset button
3. Plug the unit back into electrical outlet
4. Press test button. Unit should trip and reset
button will pop up.
5. Press reset button again for use
If above test fails, stop using the air conditioner
and contact customer service by calling the
following toll-free number:
1-800-332-6658
or email: customerservice@fedders.com
Power Cord with
Arc Detection Device
The power cord supplied with this air condi-
tioner is equipped with an Arc Detection
Device designed to shut off power to the unit
when it senses an arc fault condition. An arc
fault is an unintentional electrical discharge
that occurs when electrical products or wires
are damaged, aged, or improperly used. An
arc fault can be potentially hazardous if left
undetected.
Electrical Shock Hazard
• Plug unit only into a grounded
electrical outlet.
Do not use an extension cord or plug
adapter with this unit.
Do not operate unit with decorative front
or filter removed.
Failure to follow these precautions could
result in electrical shock, fire or personal
injury.
If the air conditioner has a serial plate
rating of 115 volts and greater than 7.5
amps, it must have its own fuse or circuit
breaker, and no other device or unit
should be operated on that fuse or circuit
breaker.
If the air conditioner has a serial plate
rating of 230 volts, it must have its own
fuse or circuit breaker, and no other
device or unit should be operated on that
fuse or circuit breaker.
We recommend that a qualified electrician
install unit in accordance with the
National Electrical Code and local codes
and ordinances.
Use copper conductors of correct wire
gauge and protector size only.
Do not alter cord or plug end. Do not
remove warning label on cord.
Important Grounding Requirements
Air conditioner has a three-prong
grounding plug on the power supply cord,
which must be plugged into a properly
grounded three-prong wall receptacle for
your protection against possible shock
hazard. For models up to and including
7.5 amperes, use a grounding type wall
receptacle to match the cord plug.
For models above 7.5 amperes use a single
outlet grounding type wall receptacle to
match the cord plug.
Additional Safety Precautions
Do not cut, alter or remove any of the
expanded polystyrene (styrofoam)
inside this air conditioner.
Do not store or use gasoline or other
flammable vapors and liquids in the
vicinity of this or any other appliance.
The fumes can create a fire hazard or
explosion.
Do not introduce objects in the air
discharge area. This could cause
permanent damage.
Do not pour liquids on the air
conditioner as this could cause a
malfunction. With the unit unplugged,
use a damp cloth for cleaning the unit.
Do not use strong solvents to clean
the air conditioner.
Clean the air conditioner filter every
two weeks to avoid overheating
caused by air obstruction. Do not
operate without filter.
Do not obstruct the air intake area of
your air conditioner, as this could
cause overheating, thus activating the
unit’s security switch and shutting off
the unit.
Do not block air circulation to outside
louvers of cabinet.
Do not block air flow inside with
blinds, curtains, or furniture, or
outside with shrubs, enclosures, or
other buildings.
Do not run the air conditioner with an
outside protective cover in place. This
could result in fire or mechanical
damage within the air conditioner.
Depending on the model, your air
conditioner may weigh as much as 95
pounds. To insure safe handling,
obtain the necessary help to lift and
position the unit during installation
and removal.
Handle air conditioner with care.
Wear protective gloves whenever
lifting or carrying the unit.
Carefully inspect the location where
the air conditioner will be installed.
Be sure it will support the weight of
the unit over an extended period of
time.
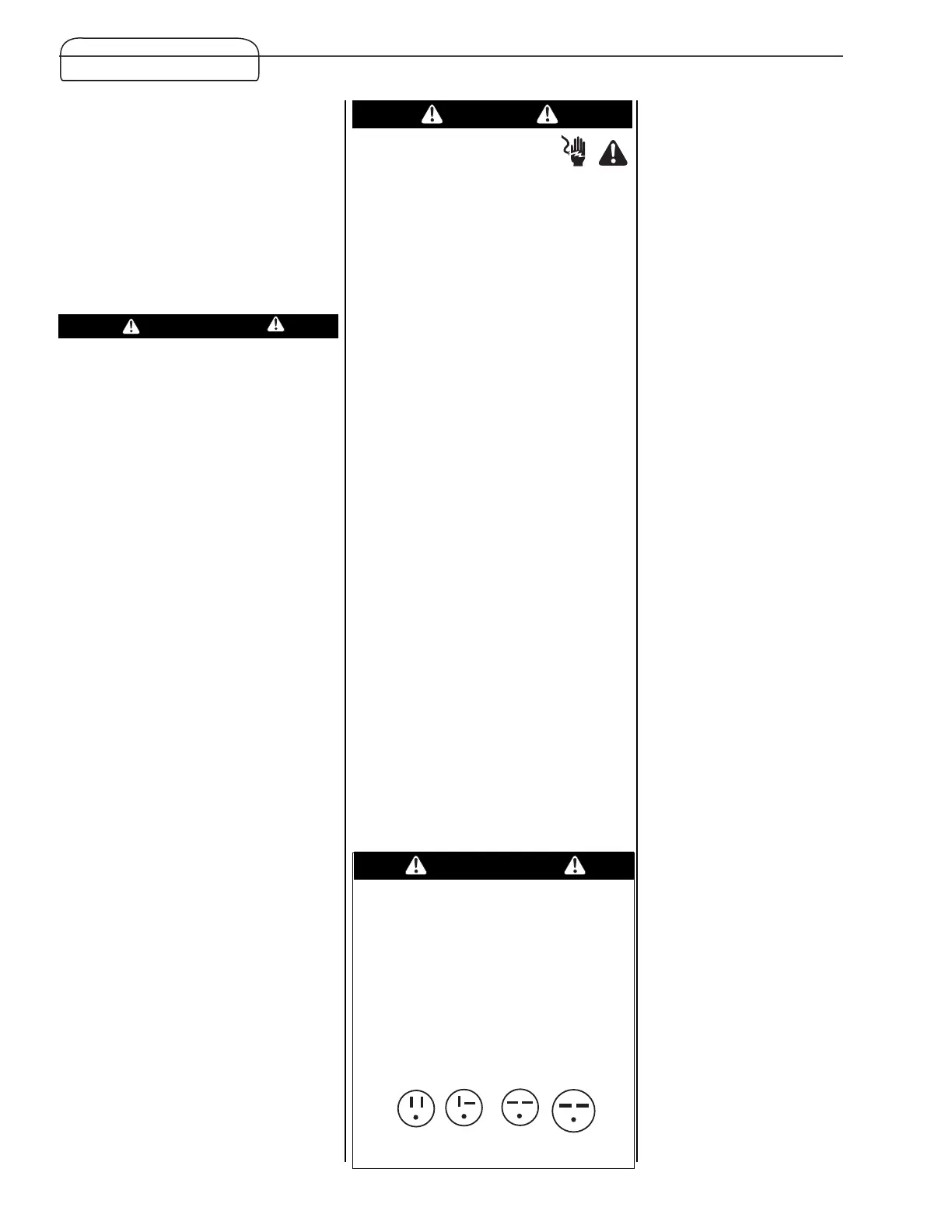
250V
30A
250V
15A
125V
15A
250V
20A
Warning
Do not operate this air conditioner without
proper time delay circuit protection (circuit
breaker or fuse). Refer to serial plate for
proper power supply requirements.
Recommended Wire Sizes
(As installed per building code) :
PROTECTOR SIZEWIRE GAUGE
15 AMP #14 MINIMUM
20 AMP #12 MINIMUM
30 AMP #10 MINIMUM

Related product manuals