EasyManua.ls Logo

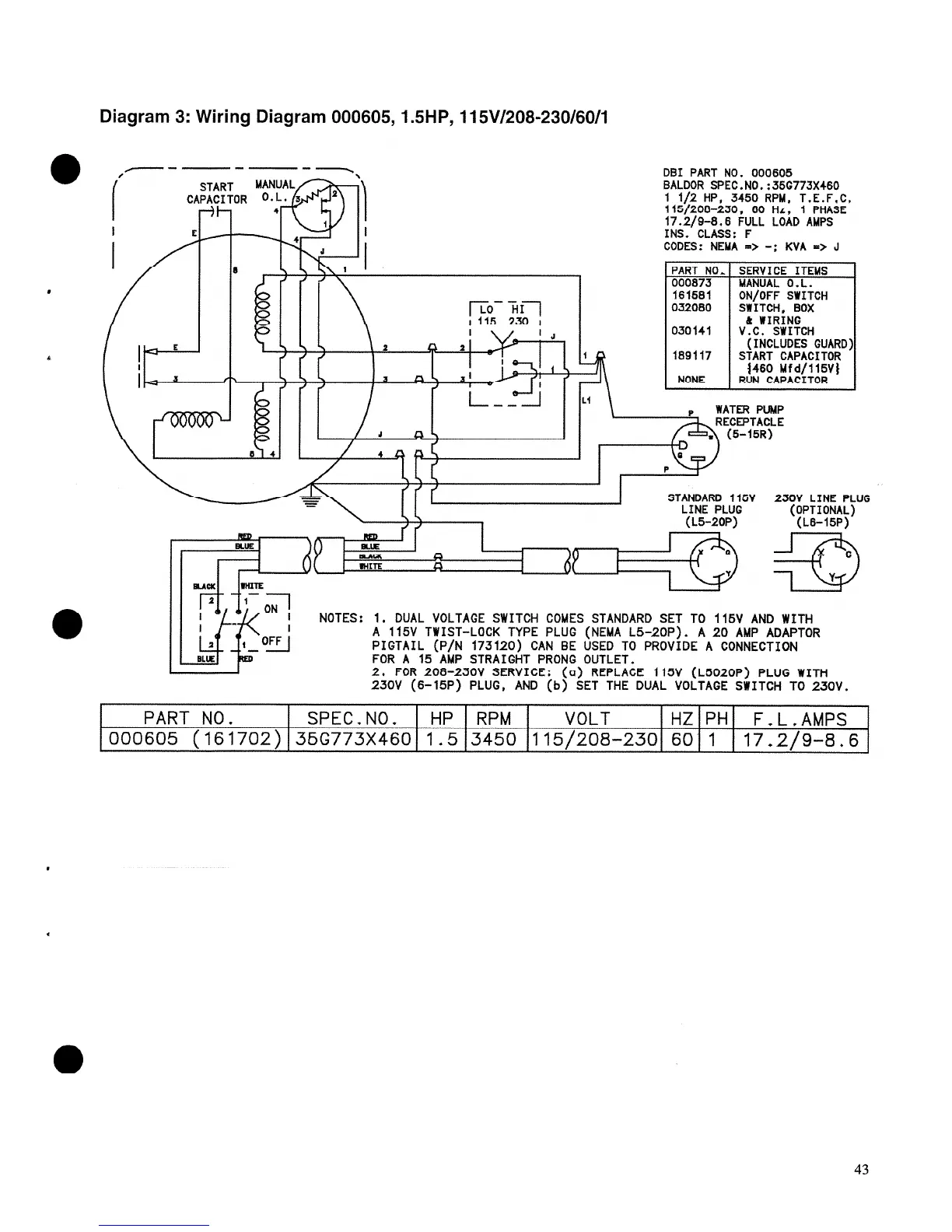
Felker TM-1HT - Wiring Diagram 000605

Felker TM-1HT
46 pages
Print Icon
To Next Page IconTo Next Page
To Next Page IconTo Next Page
To Previous Page IconTo Previous Page
To Previous Page IconTo Previous Page
Loading...

Related product manuals