EasyManua.ls Logo

Ferris ZMT Offset - USE AND OPERATING RULES; Ram Control Operation; Starting the Shredder

Ferris ZMT Offset
21 pages
Print Icon
To Next Page IconTo Next Page
To Next Page IconTo Next Page
To Previous Page IconTo Previous Page
To Previous Page IconTo Previous Page
Loading...
ZMT Owner’s Manual
6 USE AND OPERATING RULES
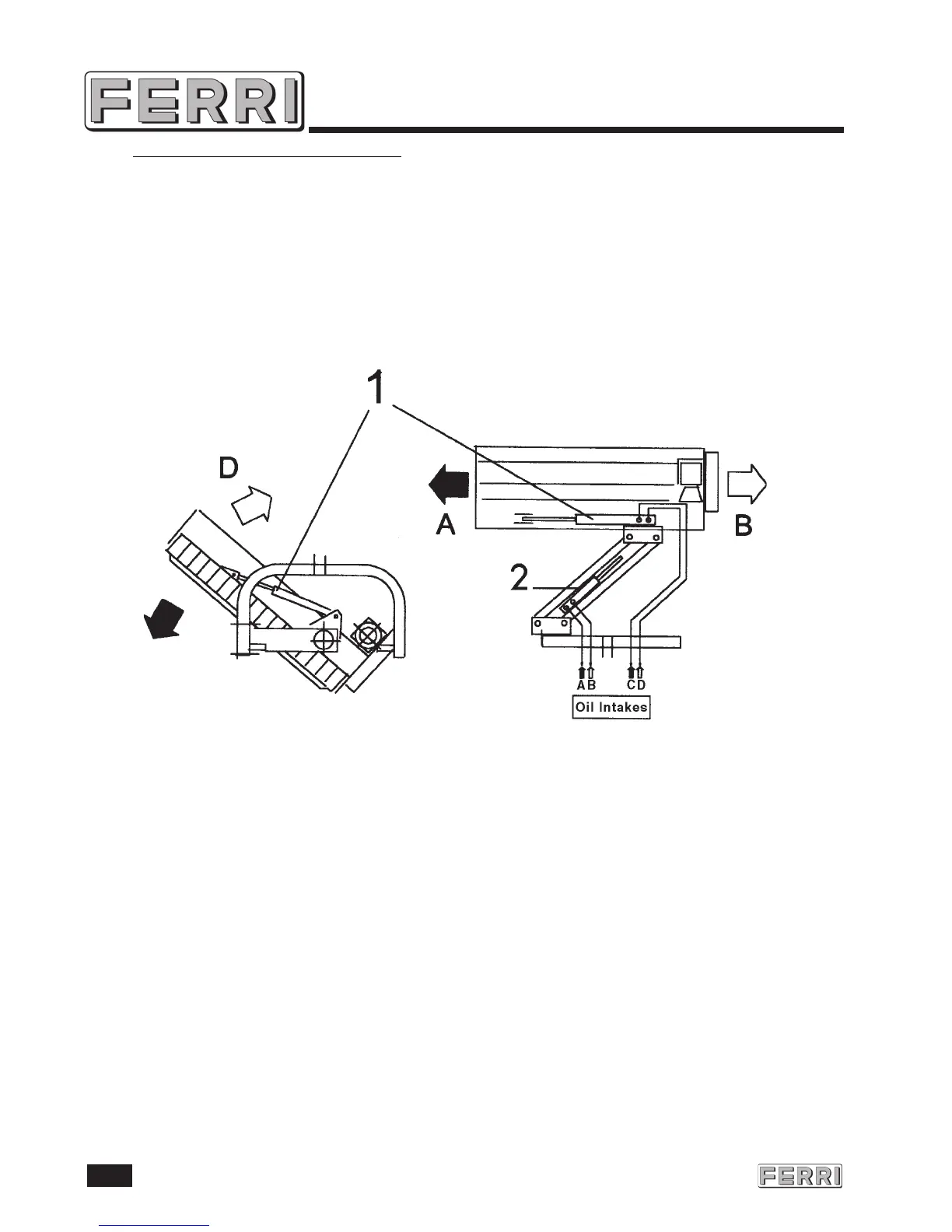
6.1 Ram control
6.1.1 The ram control levers of the shredder are placed inside the cab and are part of the
shredder. This delivers the hydraulic power necessary to run the shredder.
Ram (1) (Figure 15) controls the adjustment of the flail head.
Ram (2) controls side movement of the flail head.
6.1.2 Controls with distributor (OPTIONAL)
For tractors equipped with just one pressure tube or when requested by the user, a
distributor for ram control can be fitted to the shredder. This is also equipped with a
floating position to control the ram (1) (Figure 15).
6.2 Starting
Before using the shredder check the tightness of all bolts and the integrity of all
guards. Check that the number of revolutions and the rotational direction of the
power takeoff of the tractor correspond to those required by the shredder, see
decal on the gearbox (Figure 7).
Engage the power takeoff at low engine RPM (without jerking) to avoid damaging
the transmission (gearbox and belts).
Figure 15
14

Related product manuals