EasyManua.ls Logo

Finnlo AQUON PRO PLUS - Page 6

Finnlo AQUON PRO PLUS
29 pages
Print Icon
To Next Page IconTo Next Page
To Next Page IconTo Next Page
To Previous Page IconTo Previous Page
To Previous Page IconTo Previous Page
Loading...
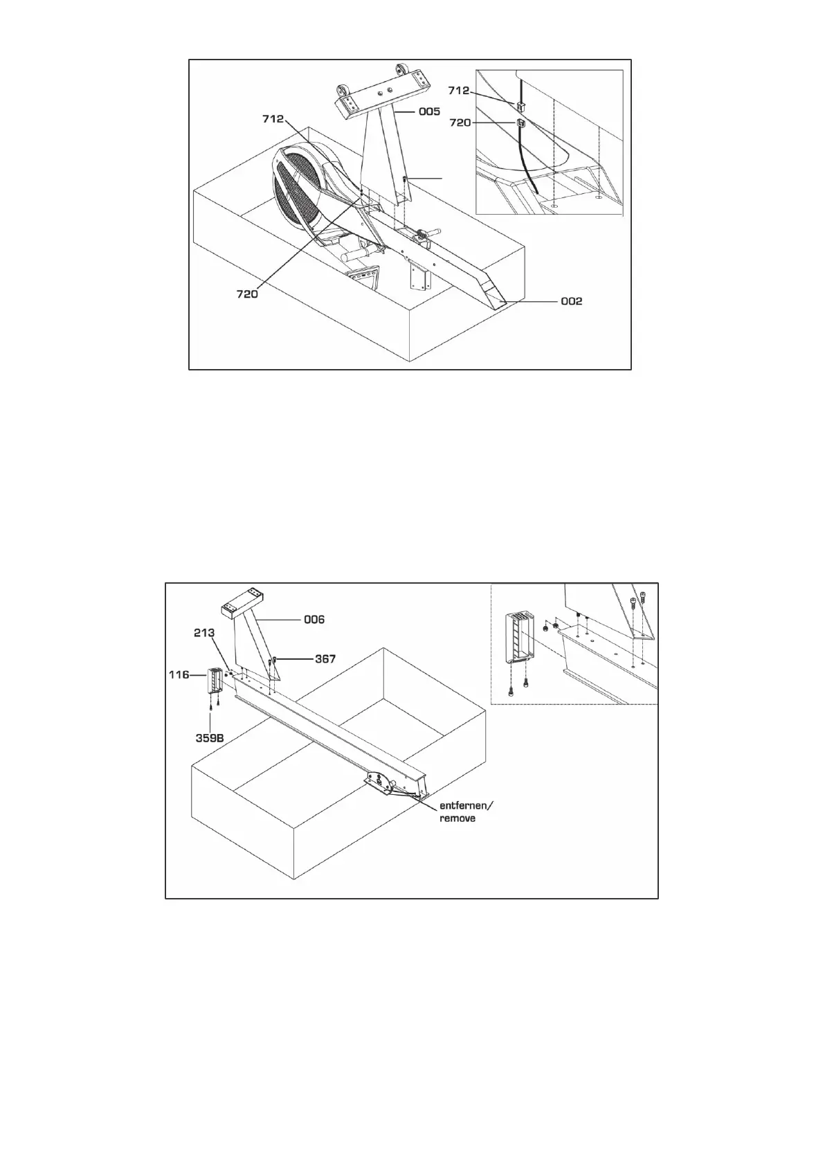
Stap 4
Plaats het hoofdframe
(002) in het karton zoals hierboven
afgebeeld. Verwijder de 4 schroeven (367)
van het hoofdframe
(002). Verbind de onderste c
omputerkabel
(712) met de bovenste
(
720). Schroef de 4 eerder verwijderde schoeven (367) terug in het
hoofdframe (002).
Step 4
Place the main frame (002) in the carton lid as shown in
the
diagram below.
Remove the four screws (367) from the mainframe
(002).
(onect
the lower
computercable
(7129 with the upper
computer cable
(720).
Assemble the front frame (020) with the same four screws
(367),
which you have already
removed.
ATTENTION:
Pay attention,, that during assembling of the
front
frame, the
computercables
won't be
damagedl
LET OP:
Zorg ervoor dat de computerkabels tijdens het
assembleren niet beschadigd raken!
Stap 5
Haal de aluminium balk (001) uit het karton en plaats deze boven
op de rand van het karton zoals hierboven afgebeeld.
Step 5
Remove the alloy beam
(001)
from the carton and place it on
top
of the carton lid as shown in the diagram
above.
Remove the two screws
(367)
from the alloy beam (001).
Assemble the rear stabilizer
(006)
with the same two screws (367)
and two nuts (213) and tighten them firmly. Slight the
endcap
(116)
alloy beam
(001)
and
fix
it from top with two scres (359B)
Verwijder 2 schroeven (367) van de aluminium balk (001).
Maak de achterste standvoet (006) vast met 2 schroeven
(319)
en 2 moeren (213). Draai ze stevig aan. Schuif de afdekkap
(116) erop en zet deze vast van boven vast met 2 schroeven
(359B).
Verwijder de bevestigingsbandjes van de zitting.
Remove the twist tie of the seat and discard.
05

Related product manuals