EasyManua.ls Logo

Fire-Lite MS-4012 - Output Circuits; Dress Panel Terminal Guide; Indicating Circuit Wiring Diagram

Fire-Lite MS-4012
31 pages
Print Icon
To Next Page IconTo Next Page
To Next Page IconTo Next Page
To Previous Page IconTo Previous Page
To Previous Page IconTo Previous Page
Loading...
15586 Rev E 5/14/93 P/N 15586:E 11
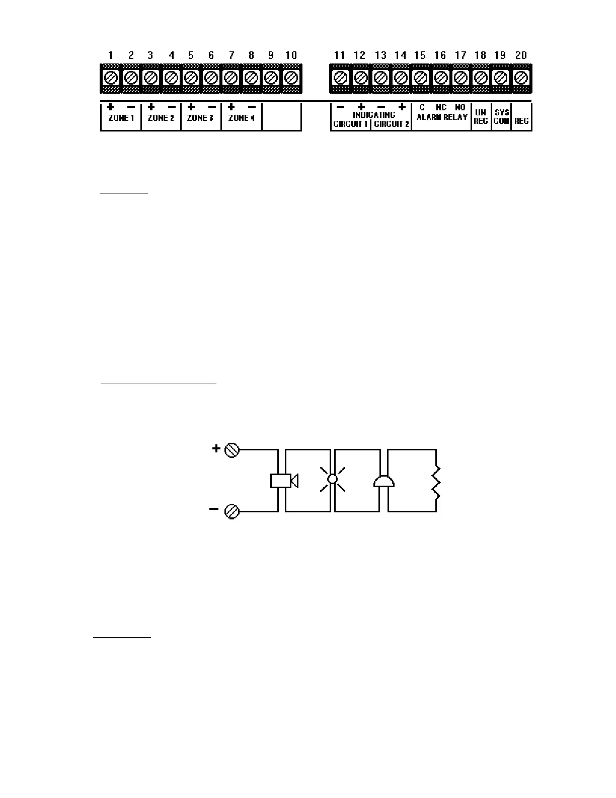
Figure 3B: Dress Panel Terminal Guide
Waterflow - For waterflow service without a disable capability, the 4000WF can be employed. This adhesive-
backed metal plate can be affixed to the front dress panel over any zone used for monitoring sprinkler waterflow
detection devices. The plate mechanically locks the disable switch in the enable position so that it cannot silence
a waterflow alarm. To install, push the zone disable switch into the up (enable) position. Remove the adhesive
backing from the 4000WF plate and place it over the dress panel so that the switch protrudes through the plate.
NOTE: This option must not be used on Zone 4 if that
zone is programmed for sprinkler supervisory service.
See the Device Compatibility Document for compatible, UL listed detectors available from Fire Lite.
3.3 Output Circuits
Indicating (Bell) Circuits - Two Class B Indicating Appliance Circuits are provided as a standard feature on
this panel. Each circuit is capable of 1.5 amperes of signaling current. Total current drawn from both circuits
cannot exceed 2.5 amperes. Indicating appliances must be polarized. Remove ELR from each circuit and install
after the last device connected to its respective circuit (see Figures 3B and 3C).
End of Line Resistor
10K 1/4-watt
Indicating
Circuit
Polarized Polarized Polarized
Horn Light Bell
Figure 3C: Indicating Circuit Wiring Diagram
Alarm Relay - One Form-C dry supplementary alarm contact is provided in the basic panel for controlling
supplementary devices. It is rated for 2 amps of current at 30 VDC and 0.5 amps at 30 VAC (resistive). See
Figure 3B for terminal location.
+ - +