EasyManua.ls Logo

FISCHER 4152K - Page 34

FISCHER 4152K
36 pages
Print Icon
To Next Page IconTo Next Page
To Next Page IconTo Next Page
To Previous Page IconTo Previous Page
To Previous Page IconTo Previous Page
Loading...
4150K and 4160K Series
34
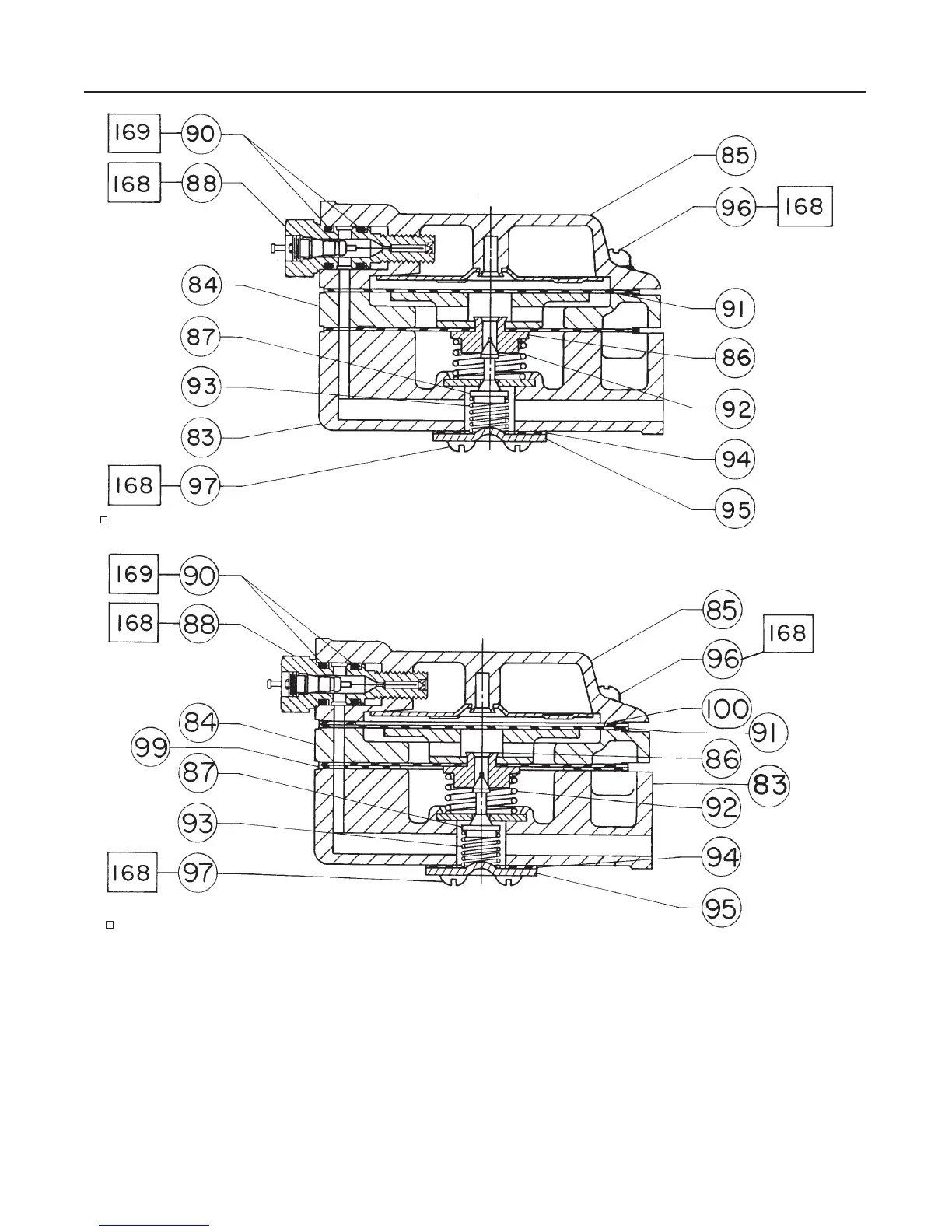
Figure 23. Relay Assemblies

22B0463-C / DOC
APPLY LUB
22B0462-C / DOC
APPLY LUB
 
Key Description Part Number
228 Spacer Spool, steel (specify quantity req’d)
Types 470, 472, 480, 513, 656, 657, 667,
pipe stand 1051, 1052 & 1061 1F9067 24092
Type 115
W/o regulator or w/one regulator 1K1534 24092
W/two regulators 1K4144 24092
Type 115C 1K6547 24092
Key Description Part Number
229 Cap Screw, steel pl (not shown) (specify quantity req’d)
Type 115
W/o regulator or w/one regulator 1F9603 24052
W/two regulators 1C8702 24052
Type 115C 1D7704 24052
Types 126 & 127 1B2275 24052
Types 1051 & 1052 casing-mounted controller 1A5828 24052

Table of Contents

Related product manuals