EasyManua.ls Logo

Fisher CA-272 - Page 16

Fisher CA-272
22 pages
Print Icon
To Next Page IconTo Next Page
To Next Page IconTo Next Page
To Previous Page IconTo Previous Page
To Previous Page IconTo Previous Page
Loading...
als
es
ieee
'
L
Tod
meres
Gree
es
Maes
)
FUSE
T4.0Ax2
as
a
t
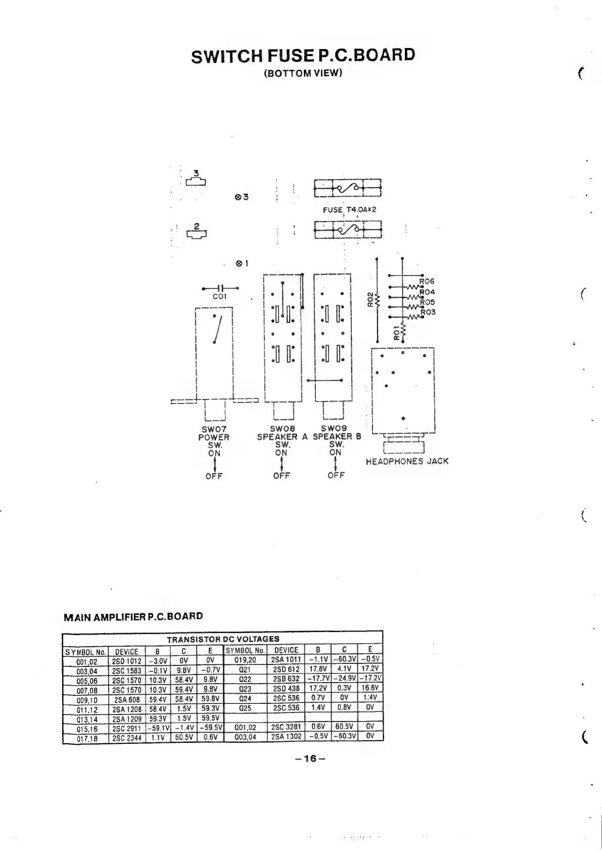
(BOTTOM
VIEW)
@3
SWITCH
FUSE
P.C.BOARD
:
oad
-
.
4
x
Bete.
wecetecceeoe,
oC
lomo)
°
Ty
ayeye
|e
he
4
|
(ft
tw
I,
ali
toy
|,
Ht
lx
|
:
i
e
B
ws
Aa
=e
aoe
1
oo
zou
—_———
w
[8]
Ogee
ae
te
=
ee
OU
e
°
e
e
s
—.
.
=
=
r
|
oxez_
itt
SS
=—
J
Sane
°
e
2
e
e
e
e
=
ri
lL
neers
(pee
7)
Fat
pe
ae
=
—=
7]
Ou.
|
5
=
|
|
Ov
FZ
oe
eee
e
--—4
noo
o
———
J
oO
n
\I
II
i
re
5
ma
Oo
|
-
SS
|
|
O$3z
Ve
125°
ros
|
la
ne
MAIN
AMPLIFIER
P.C.BOARD

Related product manuals