EasyManua.ls Logo

Fisher CA-272 - Page 9

Fisher CA-272
22 pages
Print Icon
To Next Page IconTo Next Page
To Next Page IconTo Next Page
To Previous Page IconTo Previous Page
To Previous Page IconTo Previous Page
Loading...
cat
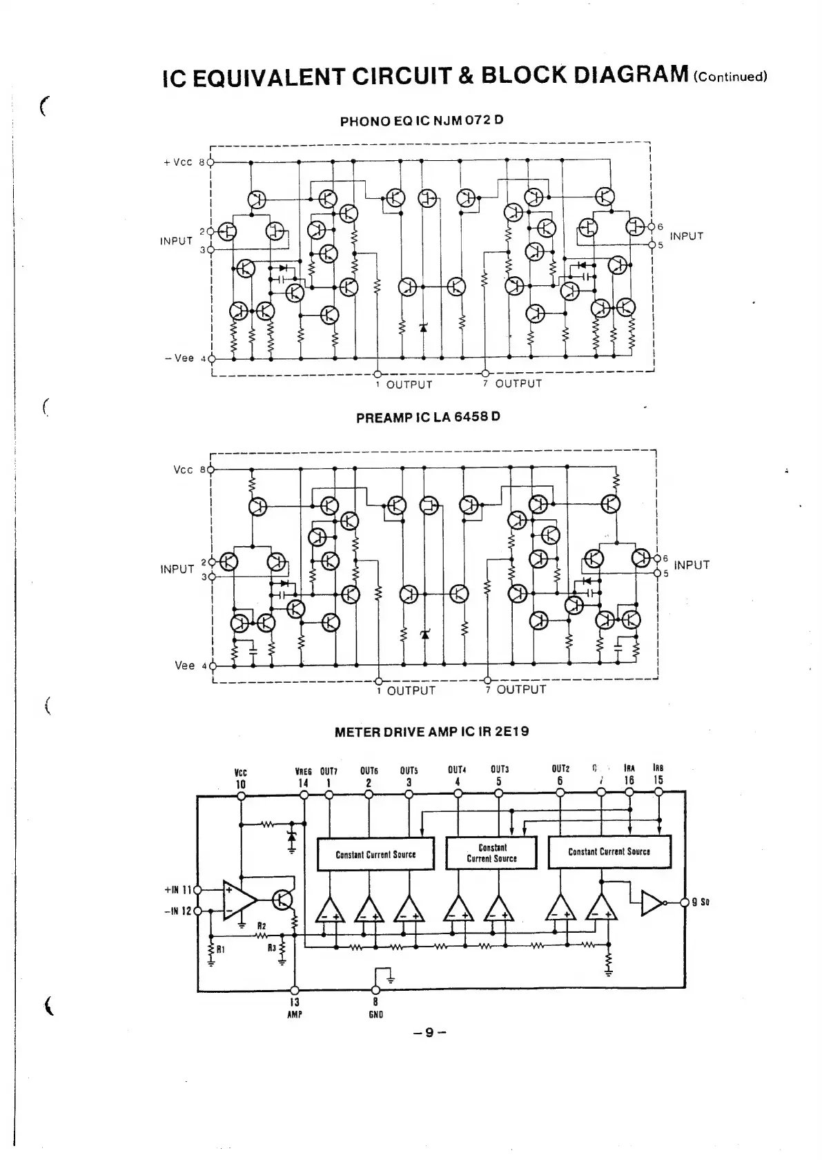
IC
EQUIVALENT
CIRCUIT
&
BLOCK
DIAGRAM
ccontinuea)
PHONO
EQIC
NJM072D
+Vcc
INPUT
~
Vee
C)
1
OUTPUT
7
OUTPUT
PREAMP
IC
LA
6458
D
(Peer
ee
Pe
ee
ae
oe
en
ee
7
“Tt
Ith.
|
|
5
Se
(Le
6
Sa
|
J
Sey
TS
OT
ke
BTSs
l
CH
|
|
2
>
[Te
:
INPUT
|
my)
a
De
INPUT
(P
Dp
(
|
ara
.9
eC;
yy)
|
a.
Ca
DAY
oO)
|
|
|
Vee
4
|
|
—-—~+—
+
-—
-
-—
-
O-—
—-—
—-
-—
--O--
-
-
ee
1
OUTPUT
7
OUTPUT
Vcc
WReG
OUT?
OUTS
OUTS Outs
QUT3
OUT2
f
IRA
ARB

Related product manuals