EasyManua.ls Logo

Flamingo Sturgeon - Page 2

Flamingo Sturgeon
12 pages
Print Icon
To Next Page IconTo Next Page
To Next Page IconTo Next Page
To Previous Page IconTo Previous Page
To Previous Page IconTo Previous Page
Loading...
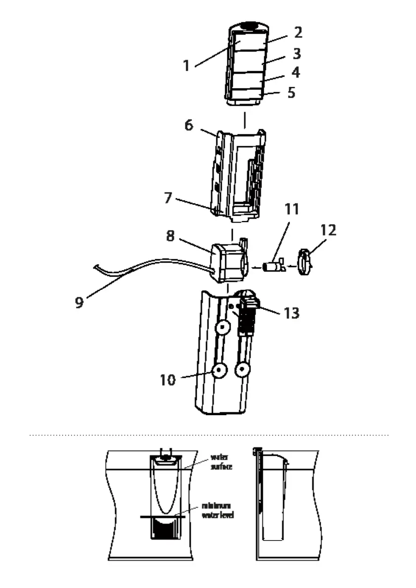
STRUCTURE
OF FILTER