EasyManua.ls Logo

Floe 511-00832-00 - Page 2

Floe 511-00832-00
8 pages
Print Icon
To Next Page IconTo Next Page
To Next Page IconTo Next Page
To Previous Page IconTo Previous Page
To Previous Page IconTo Previous Page
Loading...
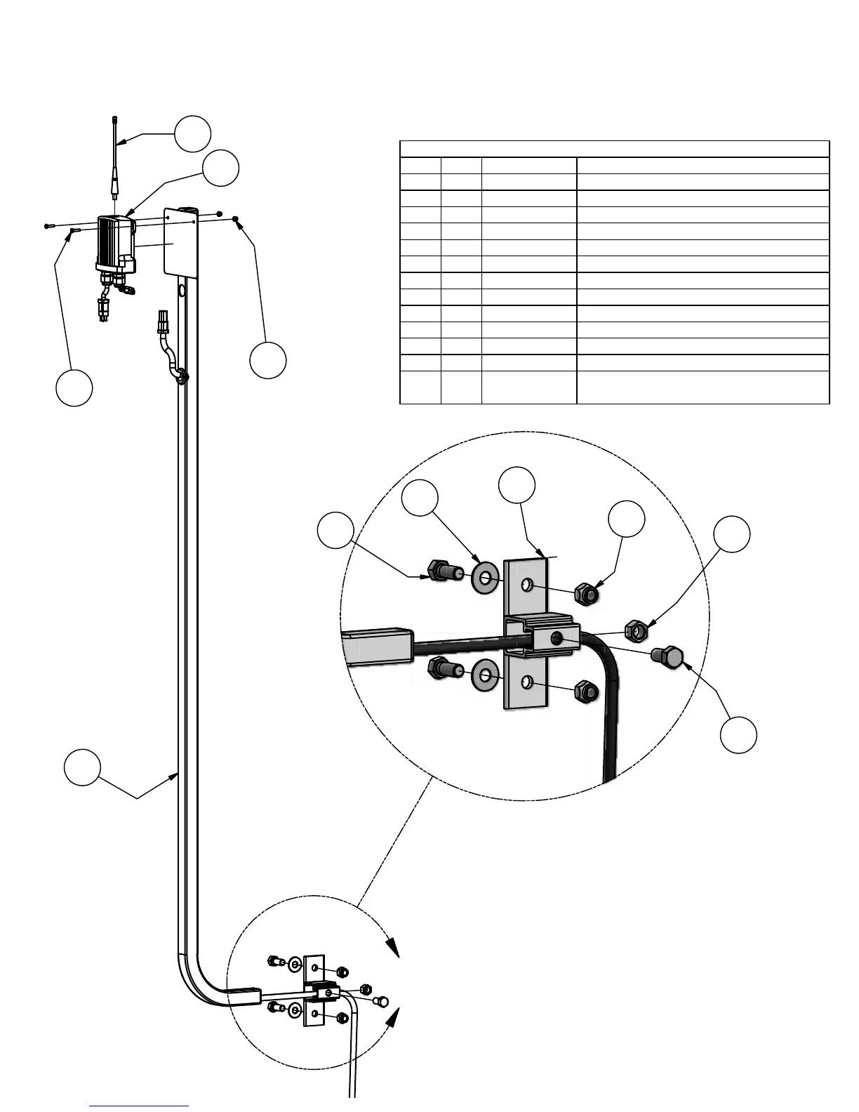
DETAIL A
A
PARTS LIST FOR 511-00832-00
DESCRIPTIONPART NUMBERQTYITEM
HHCS, 1/2-13 X 1" SS001-70205-00
11
HHCS, 1/2-13 X 1 1/4" SS
001-70207-0022
FLAT WASHER, 1/2" 18-8 SS
001-71021-0023
RPHMS, 8-32 X 3/4" SS
001-72525-0024
NUT, NYLOCK 1/2-13 ALUM.
001-76072-00
2
5
NUT, NYLOCK 8-32 ALUM.001-76209-00
2
6
NUT, 1/2-13 ALUM.
001-76350-00
17
PLUG, WIRED REMOTE BYPASS
007-05294-00
1
8
VELCRO, 1/2" DOUBLE SIDE BLACK
014-02310-00
5 YD
9
ASS'Y, RADIO REMOTE MAST
111-00032-00
1
10
WELD'T, BRACKET - MAST MOUNT
111-00122-00
111
WIRELESS, RADIO REMOTE & TRANS
511-00870-00
1
12
WIRELESS, RADIO REMOTE & TRANS
511-00870-00
antenna
1
13
WIRELESS REMOTE
EXPLODED VIEW AND BOM
KIT P/N 511-00832-00
SHEET 2 OF 7
4
12
6
10
2
11
5
7
1
13
3
2