EasyManua.ls Logo

Fluke 5220A - Page 17

Fluke 5220A
138 pages
Print Icon
To Next Page IconTo Next Page
To Next Page IconTo Next Page
To Previous Page IconTo Previous Page
To Previous Page IconTo Previous Page
Loading...
Introduction and Specifications
Specifications
1
1-5
ajs01f.wmf
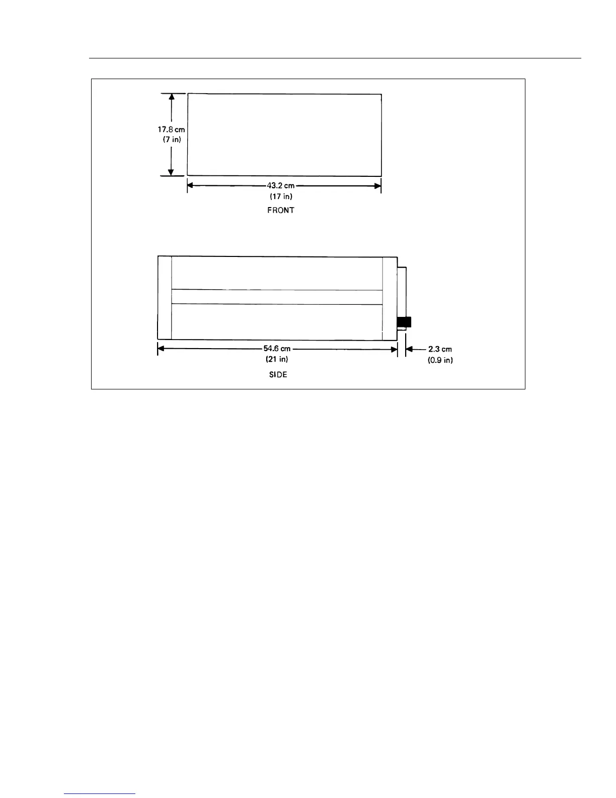
Figure1-1. Outline Drawings

Table of Contents

Related product manuals