EasyManua.ls Logo

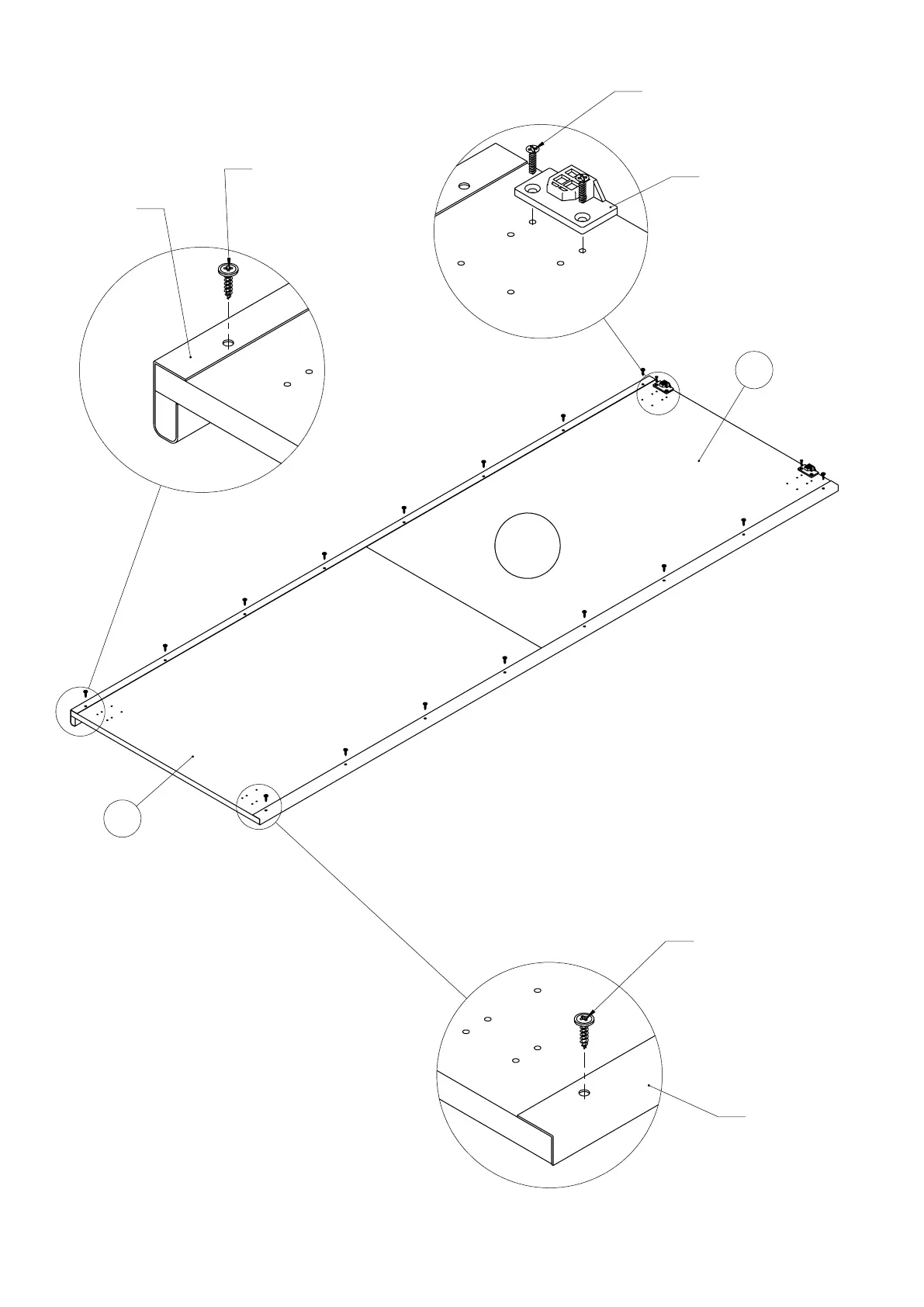
Forte Ohio - Assembly Step 19: Installing Side Guides; Attaching Guides and Brackets

Forte Ohio
29 pages
Print Icon
To Next Page IconTo Next Page
To Next Page IconTo Next Page
To Previous Page IconTo Previous Page
To Previous Page IconTo Previous Page
Loading...
9
9
L
S34701
4x
S36481
2x
S31298
8x
S36412
1x
S36413
1x
S31298
8x
19
19/28

Table of Contents

Related product manuals