EasyManua.ls Logo

Frigidaire CHEST FREEZER - Appliance Start-up and Operation; Initial Cool Down Period; Thermostat Setting and Stabilization

Frigidaire CHEST FREEZER
12 pages
Print Icon
To Next Page IconTo Next Page
To Next Page IconTo Next Page
To Previous Page IconTo Previous Page
To Previous Page IconTo Previous Page
Loading...
5
Appliance Start-up
Once the appliance has been located in its permanent location and the proper power and
grounding has been provided, the following items must be checked or completed:
Cool Down Period
For safe food storage, allow 24 hours for the appliance to cool down completely before loading
with food. The appliance will run continuously for the rst several hours. Do not place any food
in the appliance until after the rst 24 hours of operation.
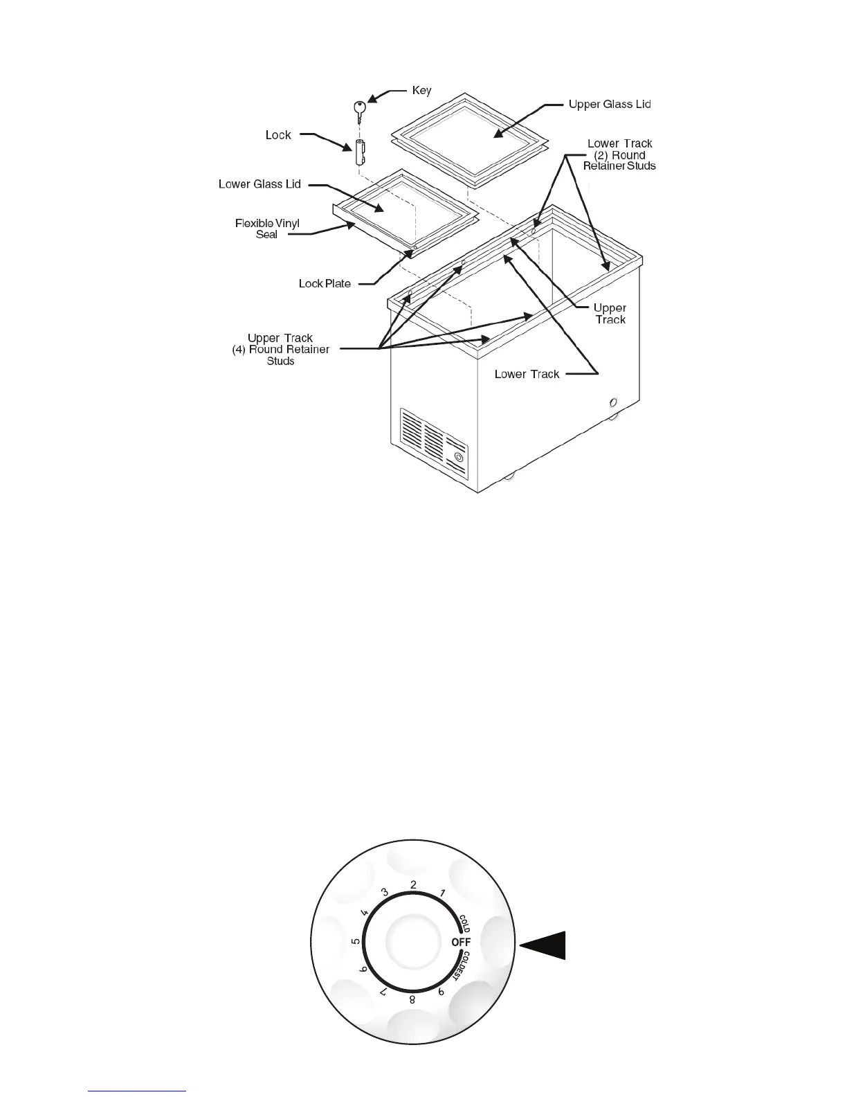
Thermostat Setting
The appliance is shipped from the factory with the thermostat set at about the mid-point of
the operating range. Adjustments colder or warmer can be made after the appliance has been
running for at least 8 hours. Allow at least 8 hours for temperature stabilization before re-
adjusting the thermostat.
First Steps

Related product manuals