EasyManua.ls Logo

Frigidaire FGMV174KFC - Part Names

Frigidaire FGMV174KFC
26 pages
Print Icon
To Next Page IconTo Next Page
To Next Page IconTo Next Page
To Previous Page IconTo Previous Page
To Previous Page IconTo Previous Page
Loading...
8
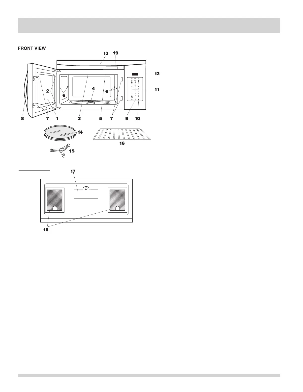
PART NAMES
1 Microwave oven door with see-through window
2 Door hinges
3 Waveguide cover:
DO NOT REMOVE.
4 Turntable motor shaft
5 Microwave oven light
It will light when microwave oven is operating or
door is open.
6 Rack holders
7 Safety door latches
The microwave oven will not operate unless the
door is securely closed.
8 Handle
9 Light hi/lo/off pad
Press the light hi/lo/off pad once for high, twice
for low and three times to turn off the light.
10 Vent hi/lo/off pad
Press the vent hi/lo/off pad once for high
speed, twice for low speed and three times to
turn off the fun.
11 Auto-Touch control panel
12 Time display: Digital display, 99 minutes, 99
seconds
13 Ventilation openings
14 Removable turntable
The turntable will rotate clockwise or counter-
clockwise. Only remove for cleaning.
15 Removable turntable support
First, carefully place the turntable support in the
motor shaft in the center of the microwave oven
floor. Then, place the turntable on the turntable
support securely.
16 Rack for 2-level cooking/ reheating
17 Light cover
18 Grease filters
19 Menu label
(Front of microwave oven)
(Rear of microwave oven)
BOTTOM VIEW
OR7NEWModelEN-4.indd8OR7NEWModelEN-4.indd8 09.4.2811:46:20AM09.4.2811:46:20AM

Related product manuals