EasyManua.ls Logo

Frontier DH1380 - Page 20

Frontier DH1380
24 pages
Print Icon
To Next Page IconTo Next Page
To Next Page IconTo Next Page
To Previous Page IconTo Previous Page
To Previous Page IconTo Previous Page
Loading...
17 Optional Equipment
Optional Equipment Con’t.
Center Sweep Kit
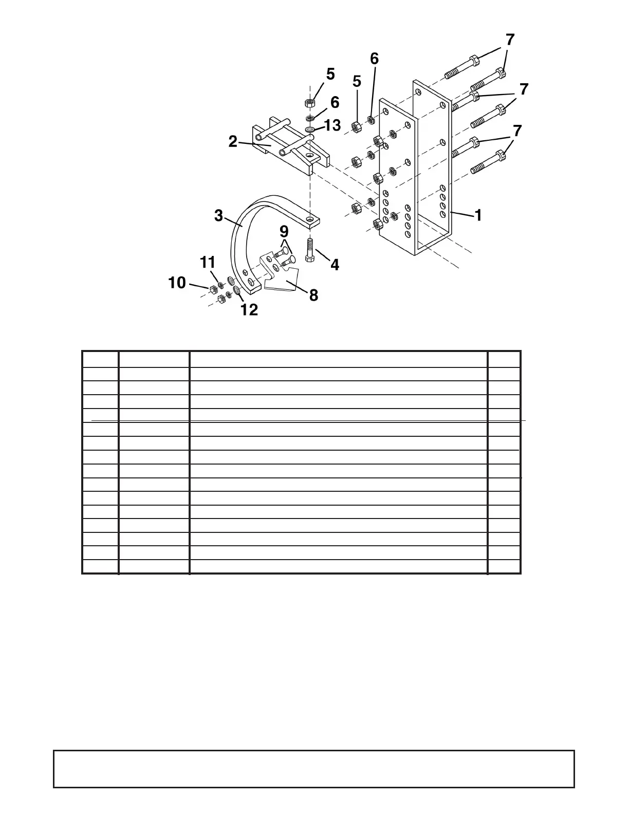
Figure 3
DH13Series 5TL11476
1 5TL10601 SHANK BRACKET 3" BEAM MODEL DH11, DH12 1
5TL10388 SHANK BRACKET 4" BEAM MODEL DH13 1
2 5TL10599 SHANK HOLDER 3" BEAM MODEL DH11, DH12 1
5TL9175 SHANK HOLDER 4" BEAM MODEL DH13 1
3 5TL10602 BALK BREAKER SHANK 1
4 5TL9192 HEX BOLT, 5/8" X 2
1
/2", GR. 5 1
5 5TLT22 HEX NUT, 5/8" 7
6 5TLT24 LOCK WASHER, 5/8" 7
7 5TLT744 HEX BOLT, 5/8" X 4
1
/2", GR. 2 MODEL DH11, DH12 6
5TLT746 HEX BOLT, 5/8" X 5
1
/2", GR. 2 MODEL DH13 6
8 5TL13614 4" SWEEP POINT 1
9 5TL14984 PLOW BOLT, 7/16" X 1
1
/2" 2
10 5TL14986 HEX NUT, 7/16" 2
11 5TL14987 LOCK WASHER, 7/16" 2
12 5TL14985 FLAT WASHER, 7/16" 2
13 5TL9354 FLAT WASHER, 5/8" 1
Ref.# Part # Description Qty
Reference Figure 3
To attach balk breaker to disc, remove the two
top bolts from ref. #1 (shank bracket) and slide
on to center tube of frame, behind the strut lug.
Insert top bolts back in ref. #1 and apply lock
washer and hex nut. DO NOT TIGHTEN! Attach
ref. #3 (balk breaker shank) to ref. #2 (shank
holder) with hardware supplied, then tighten this
bolt only. Ref. #2 can be adjusted for different
depths. Normal operational depth is the same
as the disc blade depth. Depth adjustments
can be made by putting disc on the ground, and
adjusting bolts in ref. #2 up or down. Once
depth has been set, tighten all bolts and balk
breaker is ready for operation.
*NOTE- Retighten all fasteners after first oper-
ational use.
Center Sweep Kit Mounting Instructions

Related product manuals