EasyManua.ls Logo

Frontier GM1048E - Page 38

Frontier GM1048E
60 pages
Print Icon
To Next Page IconTo Next Page
To Next Page IconTo Next Page
To Previous Page IconTo Previous Page
To Previous Page IconTo Previous Page
Loading...
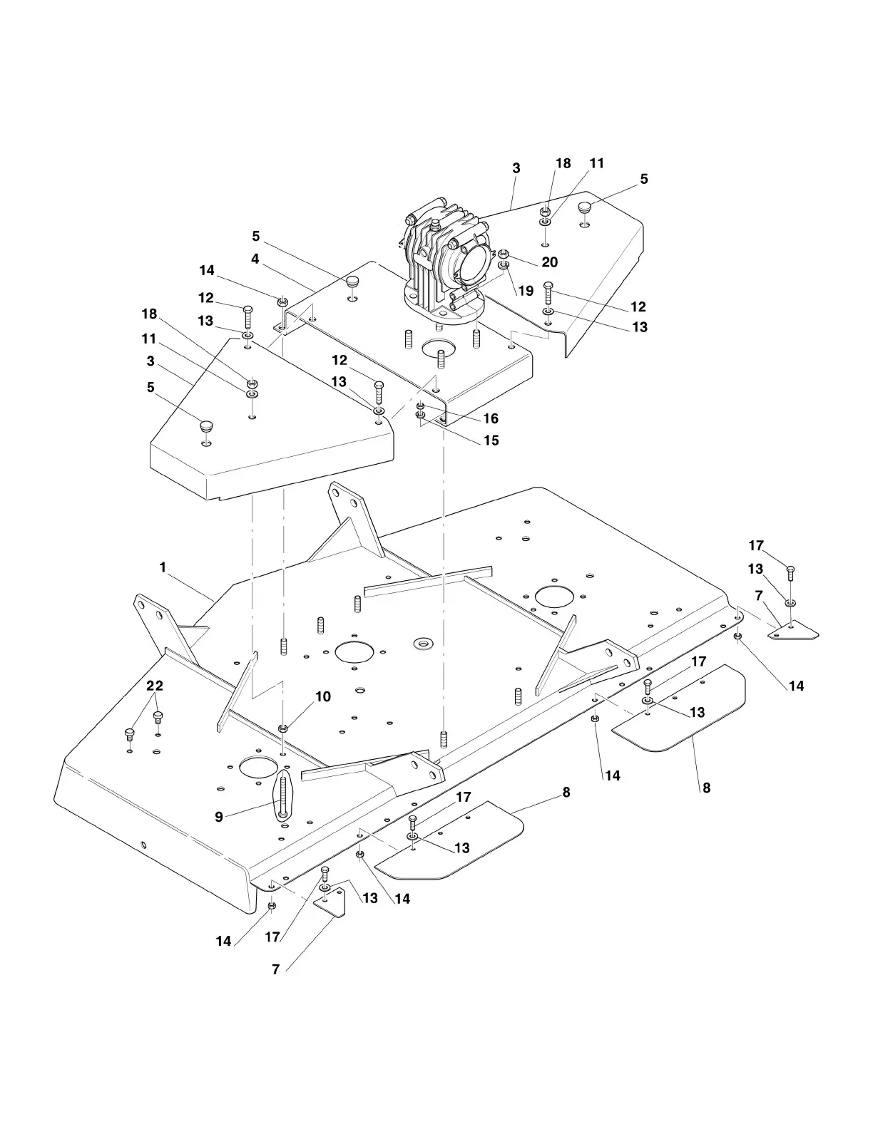
GROOMING MOWERS FRAME OPERATORS MANUAL
GM1048E, GM1060E, GM1072E
P
ARTS MANUAL 38 FRONTIER
06/2007

Related product manuals