EasyManua.ls Logo

Frontier GM1048E - Page 50

Frontier GM1048E
60 pages
Print Icon
To Next Page IconTo Next Page
To Next Page IconTo Next Page
To Previous Page IconTo Previous Page
To Previous Page IconTo Previous Page
Loading...
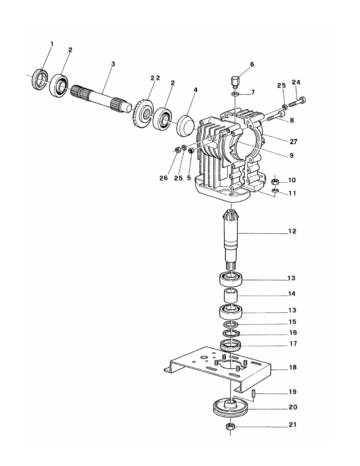
GROOMING MOWERS GEARBOX 540 RPM OPERATORS MANUAL
GM1048E, GM1060E, GM1072E
P
ARTS MANUAL 50 FRONTIER
08/2010

Related product manuals