EasyManua.ls Logo

Fujitsu AOTG60LBTA - Features and Functions; Remote Controller Overview

Fujitsu AOTG60LBTA
36 pages
To Next Page IconTo Next Page
To Next Page IconTo Next Page
To Previous Page IconTo Previous Page
To Previous Page IconTo Previous Page
Loading...
En-3
(1)
(2)
(3)
(4)
(5) (6)
(8)
(7)
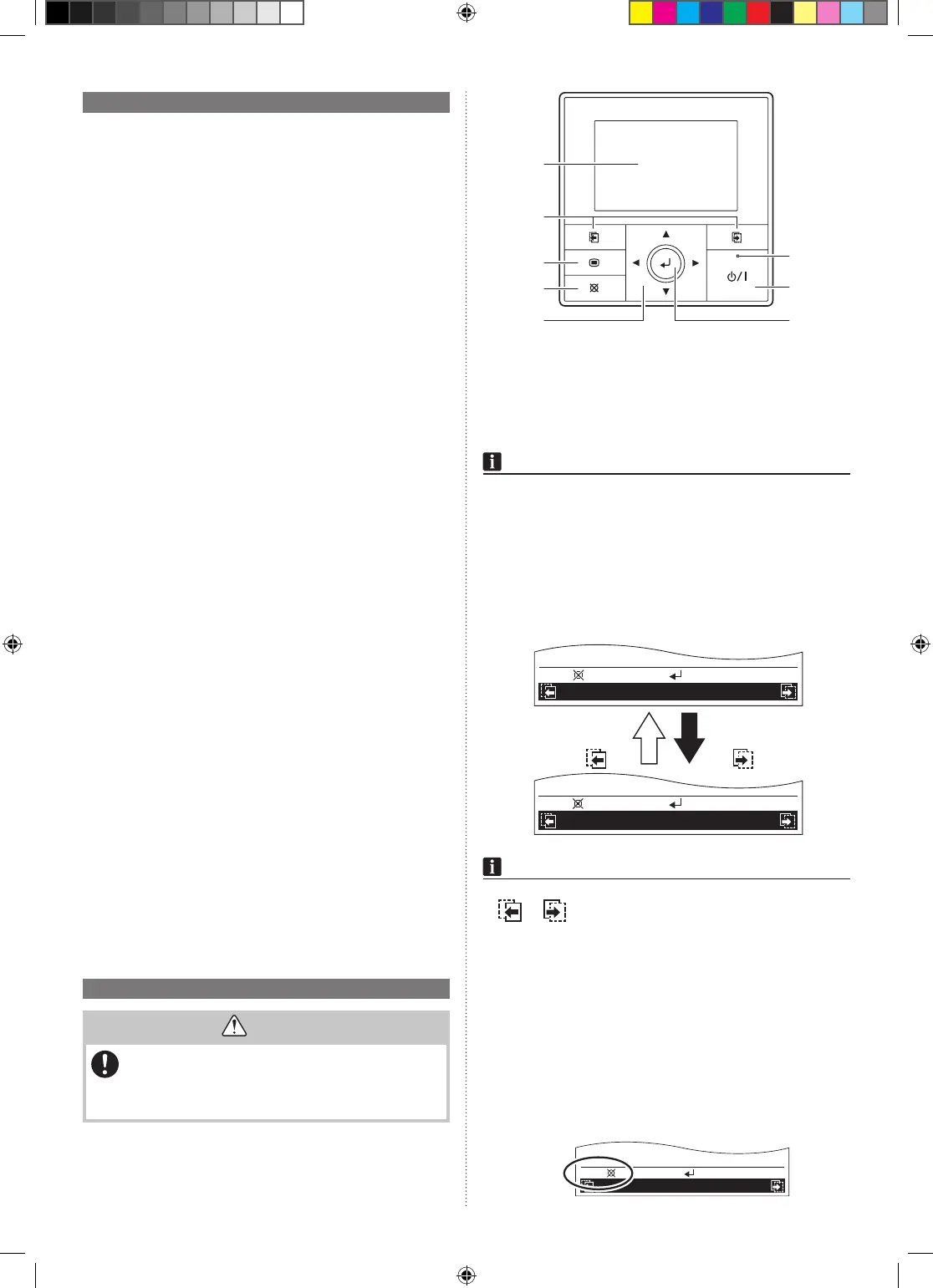
(1) Display panel (with backlight)
• Backlights when you press any button.
• Depending on the operation or setting, the content changes.
• The brightness, contrast, and automatic light-off setting
of the backlight can be adjusted.
Refer to “5. SUBMENU SETTING”.
NOTES
• Whilethebacklightisoffbytheautomaticlight-off,therst
button operation does not work, and the backlight illumi-
nates. (The On/Off button is excluded.)
• While the backlight is set to [Off], it is effective from the
rstbuttonoperation.
(2) Screen switch button (Left/Right)
Backwards the screen to previous setting item or forwards
the screen to next setting item.
Ex.) “Date” screen
Change display format
Time
OK:
Cancel:
OK:
Cancel:
Change display format
Date
Screen switch
button (Right)
Screen switch
button (Left)
NOTE
• These buttons are active only when any combinations of
or and the relevant screen names are displayed
intheblackeldatthebottomofthescreen.
(3) Menu button
When you press this button while the “Monitor” screen is
displayed, it switches to the “Menu” screen.
If you press the button again “Menu” screen, it switches to
the “Submenu” screen.
(4) Cancel button
Cancels the current selection and returns to previous screen.
Operable control at the setting is displayed in the lower
leftofeachsettingscreenasfollows:
• When you press this button while setting, the setting is
canceled and returns to the previous screen.
XXXXXX XXXXXX
Cancel:
OK:
1-2. Features and functions
INVERTER
At the start of operation, large amount of power is used to
bring the room quickly to the desired temperature. After-
wards, the unit automatically switches to a low power setting
for economic and comfortable operation.
ECONOMY OPERATION
When Economy operation mode is operated, the room tem-
perature will be little higher than the set-temp under Cooling
mode and lower than set-temp under Heating* mode. There-
fore, the Economy mode is able to save more energy than
other normal mode.
AUTO CHANGEOVER
The operation mode (Cooling, Dry, Heating*) is switched au-
tomatically to maintain the set temperature, and the tempera-
ture is kept constant at all times.
WEEKLY TIMER
Use this timer function to set operating times for each day of
the week. Use the Day off setting to switch off timed opera-
tion for a selected day in the coming week. Because all days
can be set together, the weekly timer can be used to repeat
the timer settings for all of the days.
WIRED REMOTE CONTROLLER
The wired remote controller allows convenient control of
indoor unit operation.
WIRELESS REMOTE CONTROLLER (OPTION)
The optional wireless remote controller can be used. When
you use the wireless remote controller, there are the follow-
ing differences as compared with using the wired remote
controller.
[Additional functions for wireless remote controller]
•SLEEPtimer
•TIMER
•10°CHEAToperation
You can use both wireless and wired remote controller
simultaneously, however, the functions listed above will be
restricted.
ZONE CONTROL
Thisfunctionenablesefcientair-conditioningbyselect-
ingspeciczonesfromthevariouszonesdividedwithinthe
indoor space.
To use this function, installation of the optional "Zone con-
trol interface" is necessary. For details, please consult your
dealer or authorized service personnel.
1-3. Remote controller overview
CAUTION
• Pressthebuttonlightlywithanger.Itmaycause
a failure if pressed with excessive force.
• Do not press the screen too hard. It may cause a
failure.
9381067145_OM_EN.indd 3 14/09/2015 13:47:58

Related product manuals