EasyManua.ls Logo

Fujitsu ARG25ALC - Page 7

Fujitsu ARG25ALC
63 pages
Print Icon
To Next Page IconTo Next Page
To Next Page IconTo Next Page
To Previous Page IconTo Previous Page
To Previous Page IconTo Previous Page
Loading...
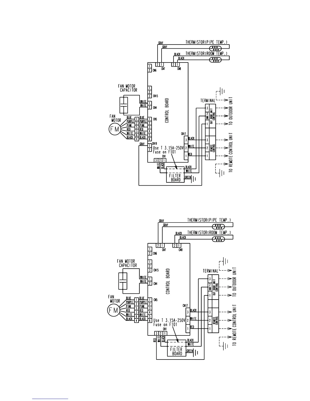
Models : ART25ALC
Models : ART25RLC
62003.05.08

Related product manuals