EasyManua.ls Logo

Fujitsu ARG30ALC - Page 35

Fujitsu ARG30ALC
63 pages
Print Icon
To Next Page IconTo Next Page
To Next Page IconTo Next Page
To Previous Page IconTo Previous Page
To Previous Page IconTo Previous Page
Loading...
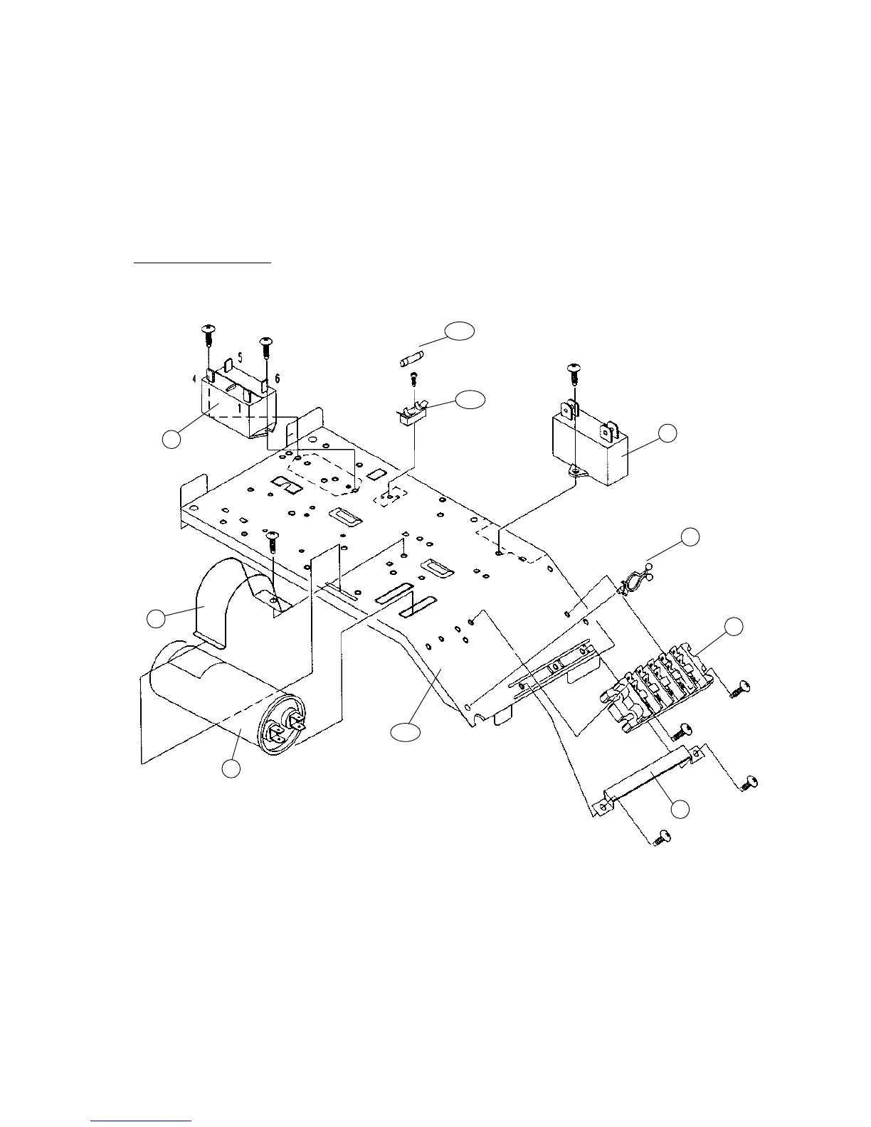
Model : AOG25ANBL
824-4
823-2
32-1
34
187
815
37
38
218
36
34
2003.05.08

Related product manuals