EasyManua.ls Logo

Fujitsu ARY90TLC3 - DISASSEMBLY ILLUSTRATION

Fujitsu ARY90TLC3
26 pages
Print Icon
To Next Page IconTo Next Page
To Next Page IconTo Next Page
To Previous Page IconTo Previous Page
To Previous Page IconTo Previous Page
Loading...
142003.10.17
Models : ARG90ELC3 / AOG90EPD3L
ARY90ELC3 / AOY90EPD3L
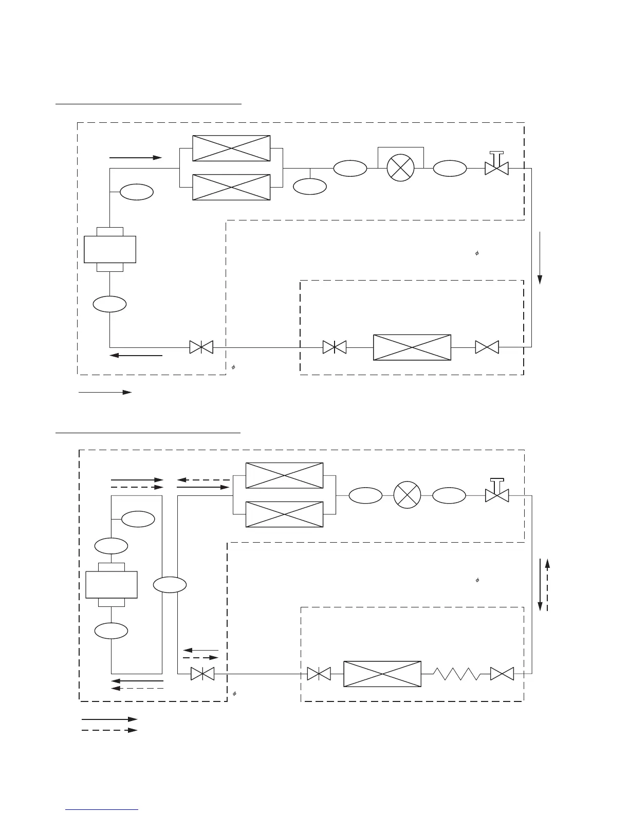
R E FR IG E R A N T S Y S T E M DIA G R A M
Models : ARG90TLC3 / AOG90TPC3L
ARY90TLC3 / AOY90TPC3L
Cooling
Heating
Dryer
Check Valve
Pressure SW
4Way Valve
Accumulator
Condenser
Tandem
Compressor
Evaporator
FlangeRefrigerant Pipe
28.58 mm (1-1/8")
Electronic
Expansion
Valve
Charging Valve
Strainer
FlareCapillary TubeFlange
Refrigerant Pipe
12.7 mm (1/2")
Dryer
Check Valve
Pressure SW
Accumulator
Condenser
Tandem
Compressor
Evaporator
FlangeRefrigerant Pipe
28.58 mm (1-1/8")
Electronic
Expansion
Valve
Charging Valve
Strainer
FlareFlange
Refrigerant Pipe
12.7 mm (1/2")
Cooling

Related product manuals