EasyManua.ls Logo

Fujitsu RSG12LMCA

Fujitsu RSG12LMCA
61 pages
To Next Page IconTo Next Page
To Next Page IconTo Next Page
To Previous Page IconTo Previous Page
To Previous Page IconTo Previous Page
Loading...
01-12
9-2 WIRED REMOTE CONTROLLER (OPTION)
The Table15 shows the available timer setting based on the product model.
ON TIMER / OFF TIMER WEEKLY TIMER
TEMPERATURE SET BACK TIMER
( Table15 : Timer Setting )
1. ON TIMER / OFF TIMER
Same to 9-1 1.ON TIMER / OFF TIMER and shown in those.
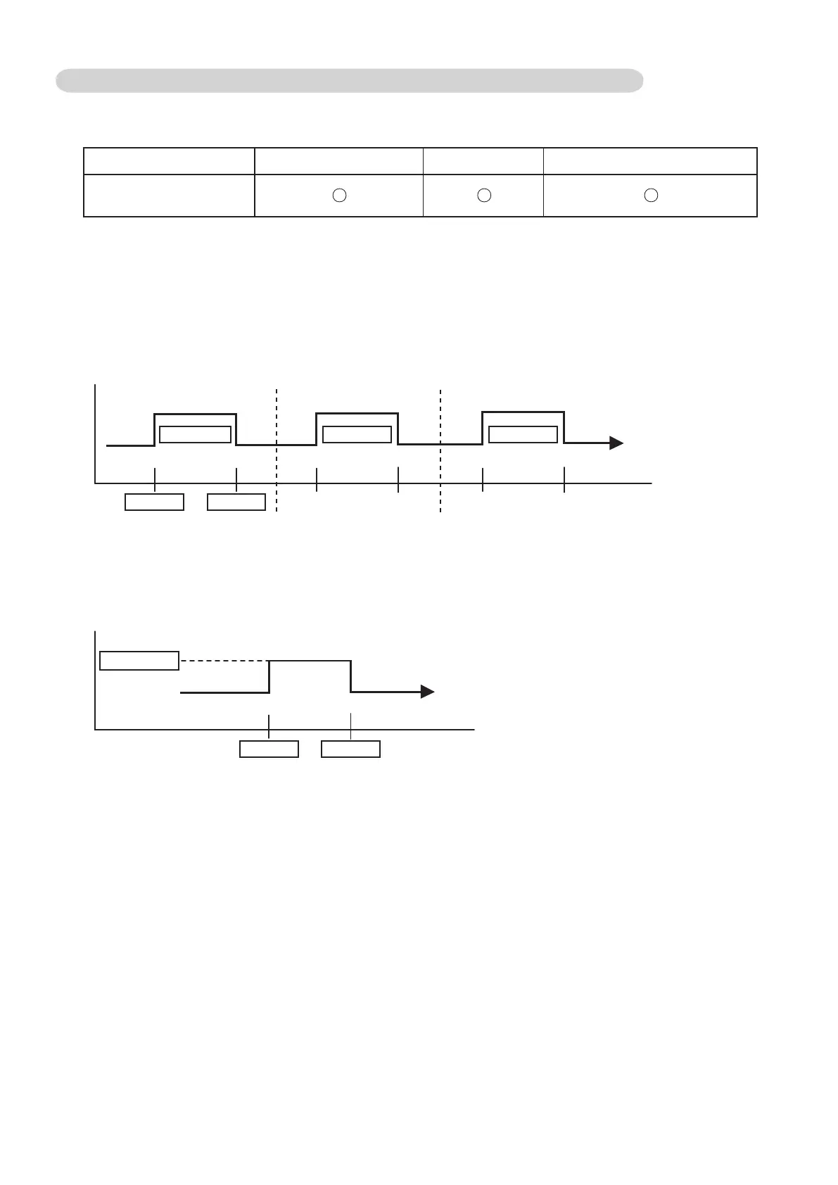
2. WEEKLY TIMER
This timer function can set operation times of the each day of the week.
All days can be set together,the weekly timer can be used to repeat the timer setting for all of the days.
3. TEMPERATURE SET BACK TIMER
This timer function can change setting temperature of setting operation times of the each day of the week.
This can be together with other timer setting.
Normal tmp.
ON
OFF
Setting day Setting day Setting day
ON OFF ON OFF ON OFF
Set time Set time
Set back tmp.
Set time Set time
07/09/12/14
Model

Related product manuals