EasyManua.ls Logo

FUNAI LH7-M32BB - TV Screen Aspect Ratio; HD Signal Aspect Ratios; SD Signal Aspect Ratios; PC Input Aspect Ratios

FUNAI LH7-M32BB
29 pages
Print Icon
To Next Page IconTo Next Page
To Next Page IconTo Next Page
To Previous Page IconTo Previous Page
To Previous Page IconTo Previous Page
Loading...
14
FR
Changement du mode d’affichage de l’écran
du téléviseur
Vous pouvez sélectionner votre taille d’écran préférée du
téléviseur.
Appuyez sur [ASPECT] plusieurs fois pour changer le mode
d’affichage de l’écran du téléviseur.
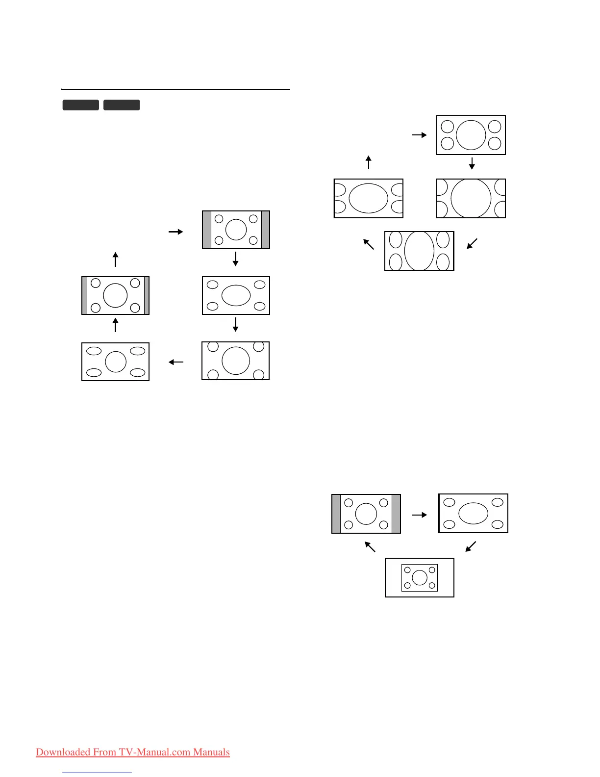
Pour signal vidéo SD (définition standard)
“Auto”
Sélectionne le mode d’affichage de l’écran du téléviseur
automatiquement.
C’est la valeur par défaut.
“Barre latérale”
Affiche une image 4:3 à sa taille originale. Les encadrés
apparaissent sur les deux côtés de l’écran du téléviseur.
“Plein écran”
Affiche une image en 4:3 à la taille standard 16:9, et s’étirera
horizontalement de manière à remplir l’écran du téléviseur.
“Cinéma”
Affiche une image en 4:3 à la taille standard 16:9, et s’étirera
horizontalement et verticalement de manière à remplir l’écran du
téléviseur. Cela coupe le haut et le bas de l’image.
“Grand angle”
Affiche une image 4:3 en taille 16:9; le centre de l’image est à sa
taille originale et les côtés sont étirés horizontalement, de manière
à remplir l’écran du téléviseur.
“14:9”
Affiche une image 4:3 en taille standard 14:9. Les encadrés
apparaissent sur les deux côtés de l’écran du téléviseur.
Pour signal vidéo HD (haute définition)
“Auto”
Sélectionne le mode d’affichage de l’écran du téléviseur
automatiquement.
C’est la valeur par défaut.
“Plein écran”
Affiche une image 16:9 à sa taille originale.
“Zoom”
Affiche une image 16:9 à sa taille maximale sans changer le ratio
horizontal ou vertical.
“Cinéma”
Affiche une image étirée verticalement.
“Elargir
Affiche une image étirée horizontalement.
Pour le signal d’entrée du PC
“Normal”
Affiche une image étirée de manière proportionnelle.
Principalement, les encadrés apparaissent sur les deux côtés de
l’écran du téléviseur.
“Plein écran”
Affiche une image disproportionnée pour remplir l’écran du
téléviseur.
“Point par point”
Affiche une image à sa taille originale.
DTV ATV
“Barre latérale”
“Plein écran”
“14:9”
“Cinéma”
“Grand angle”
“Auto”
“Plein écran”
“Zoom”
“Elargir”
“Cinéma”
“Auto”
“Normal” “Plein écran”
“Point par point”
Downloaded From TV-Manual.com Manuals

Other manuals for FUNAI LH7-M32BB

Related product manuals