EasyManua.ls Logo

FUTABA FP-8JN - Page 8

FUTABA FP-8JN
16 pages
Print Icon
To Next Page IconTo Next Page
To Next Page IconTo Next Page
To Previous Page IconTo Previous Page
To Previous Page IconTo Previous Page
Loading...
USING THE TRANSMITTER
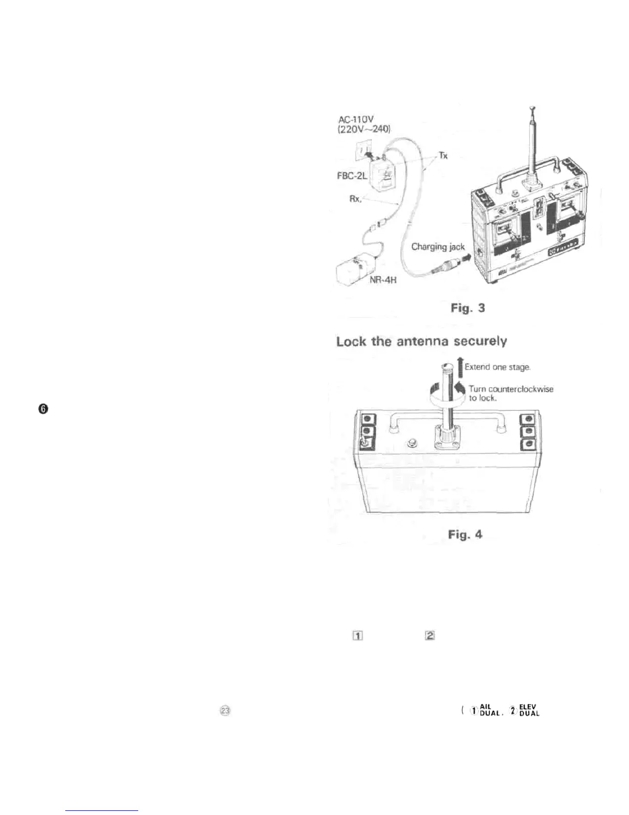
Before using the transmitter, charge the NiCd
battery.
•Connect the DIN connector of the FBC-2L
charger to the charging jack of the transmitter
and the 3P connector to the receiver servo NiCd
battery (NR-4H), and plug the charger into an
AC110V outlet as shown in Fig. 3. The Tx, Rx
charging indicator LED illuminate to indicate that
the battery is being charged.
•The charging time is normally 15 hours. But if the
battery has not be used for some time, charge it
for about 20 hours.
(If the battery is left in the discharged state for a
long time, its capacity and life will be adversely
affected.)
•The
transmitter and
receiver
NiCd batteries
can
be charged simultaneously, or independently.
•The battery can usually be used about 10 times
at a rate of about 10 minutes/time.
•Extend the antenna.
Pull the
first
stage
of the antenna up and
turn
it
counterclockwise until it locks as shown in Fig. 4.
•If the antenna is not locked, it will not be con-
nected to the internal circuitry.
•The power switch is a lock type switch. When it
is set to ON while pulling it forward, the level
meter pointer will deflect, indicating the antenna
output. The transmitter is OK if the pointer
deflects to graduation 7 with the antenna ex-
tended fully.
The pointer indication is different when the
antenna is contracted and when it is extended
fully.
[The pointer indication will also be different
when the antenna is grasped with your hand and
when it is not grasped.)
When the antenna is contracted, the transmitter
does not deliver an output even though the level
meter pointer deflects. DO NOT USE THE
TRANSMITTER UNDER THIS STATE.
•Push the battery check switch. The level meter
pointer will indicate the battery voltage at this
time. The battery is OK if the meter pointer de-
flects to within the green zone. If the pointer de-
flects to near the boundary between the green
and red zones, recharge the battery.
•Using the D.S.C. function
The
servos
can
be
operated
without
transmitting
by connecting the D.S.C. cord furnished with the
set to the connector (Fig. 1 ) of the trans-
(Use this function with the power switch of the
transmitter set to the OFF position. Although
the D.S.C. Function will be operative when the
power switch is set to ON, it will be meaningless.)
•Using dual travel
(DR —aileron, DR —elevator)
When the dual travel switch is set to ON, the
steering angle becomes small (within the range
indicated by the hatched lines in Fig. 5). The
steering angle can be varied from 40% (minimum)
to 100% (maximum) of the total steering angle
by adjusting the trimmer
mitter and the C terminal of the receiver. This
allows adjustment of the aircraft while awaiting
your turn to fly.
on the trimmer panel for channel 8)
next to the switch with a screwdriver. The dual
switch should normally be set to OFF. However

Related product manuals