EasyManua.ls Logo

Gallagher FENCE - Page 19

Gallagher FENCE
102 pages
Print Icon
To Next Page IconTo Next Page
To Next Page IconTo Next Page
To Previous Page IconTo Previous Page
To Previous Page IconTo Previous Page
Loading...
19
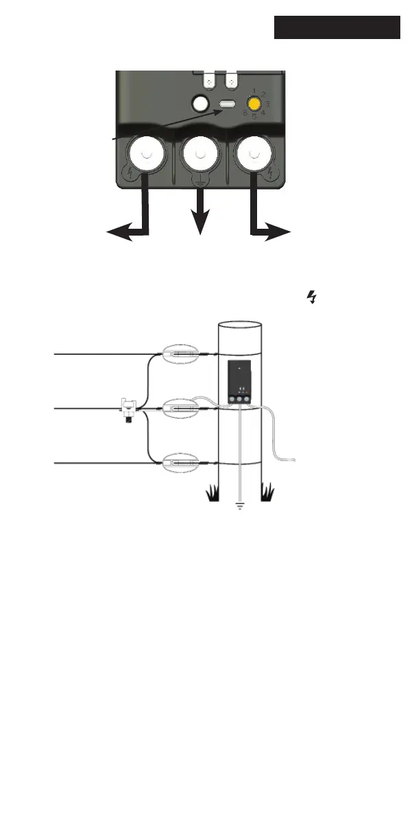
Stap 3:
Verbind met de afrastering, schrikdraadapparaat en aardpen.
De beschermingsdraad kan worden beves gd aan beide zijden van de
Afrastering Monitor (de meest toegankelijke kant), door deze onder
de bout op een van de output terminals te beves gen (
).
Naar afrastering
Naar afrastering
Naar aardingssysteem
Status LED
lampje
Let op: Om een accurate stroomme ng te verkrijgen moet de
spanning naar een zone via de Afrastering Monitor lopen.
Naar aardingssysteem
Naar het volgende
afrasteringsgebied
Nederlands

Table of Contents

Related product manuals