EasyManua.ls Logo

Gallagher FENCE - Page 55

Gallagher FENCE
102 pages
Print Icon
To Next Page IconTo Next Page
To Next Page IconTo Next Page
To Previous Page IconTo Previous Page
To Previous Page IconTo Previous Page
Loading...
55
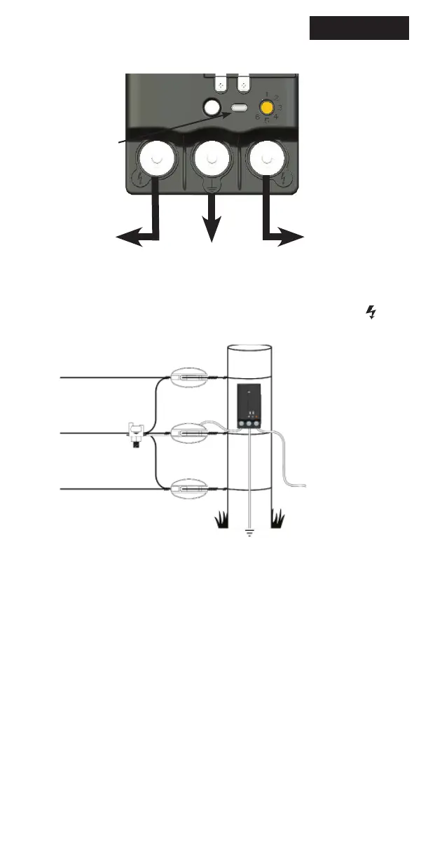
3. trin:
Tilslut l hegnet, spændingsgiveren og jordspyddet.
Tråden l besky else af besætningen kan fastgøres i begge sider af
hegnsmonitoren (den side, der er le est lgængelig for besætningen)
ved at anbringe den under bolten på en af udgangsterminalerne (
).
Til hegn
Til hegn
Til jord
Status-LED
Bemærk: Strømmen l en zone skal løbe gennem hegnsmonitoren for
at få en nøjag g visning af strømmen.
Til den næste
hegnet zone
Dansk

Table of Contents

Related product manuals