EasyManua.ls Logo

Gallagher FENCE - Page 79

Gallagher FENCE
102 pages
Print Icon
To Next Page IconTo Next Page
To Next Page IconTo Next Page
To Previous Page IconTo Previous Page
To Previous Page IconTo Previous Page
Loading...
79
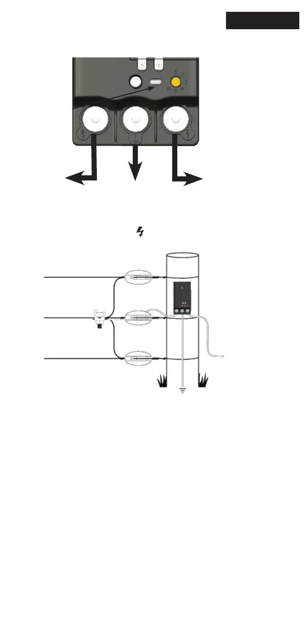
Steg 3:
Anslut ll stängslet, aggregatet och jordningen.
Kabeln kan anslutas ll båda sidor av stängsel monitorn (sidan som är
mest llgänglig för djur) genom a placera den under bultarna på en
av de utgående terminalerna ( ).
Till stängsel
Till stängsel
Till jord
Status LED
lampa
OBS! För a få e korrekt värde måste strömmen ll en zon passera
genom stängsel monitorn.
Till nästa
staket zon
Till jord
Svenska

Table of Contents

Related product manuals