EasyManua.ls Logo

GAME SolarPRO 4721 - Installation, Operation, and Troubleshooting; Heater Installation Procedure

GAME SolarPRO 4721
13 pages
Print Icon
To Next Page IconTo Next Page
To Next Page IconTo Next Page
To Previous Page IconTo Previous Page
To Previous Page IconTo Previous Page
Loading...
6SAVE THESE INSTRUCTIONS
4. INSTALLATION INSTRUCTIONS
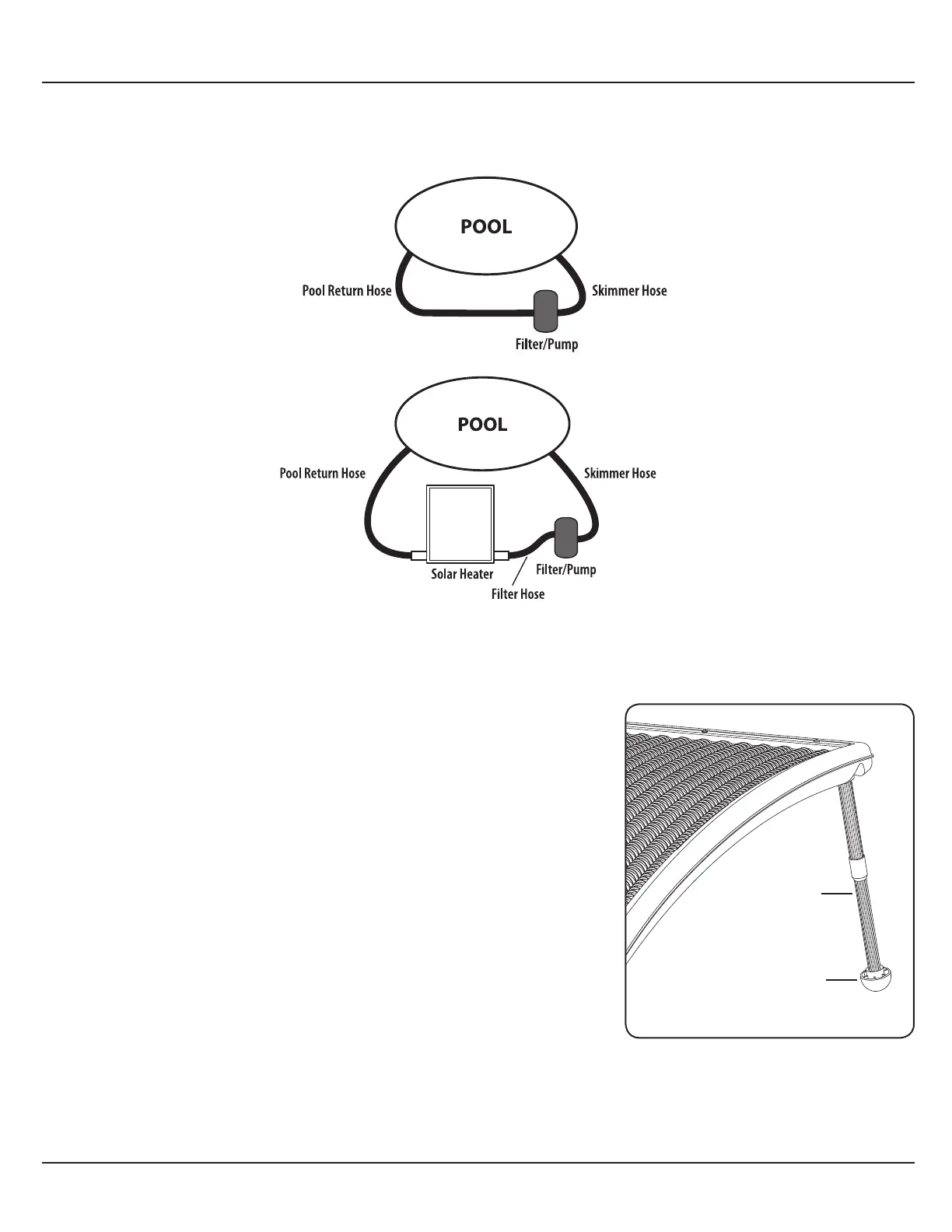
Heater – Filter – Pool Layout
The system layouts below will help you install the solar heater(s) to your above ground pool.
BEFORE INSTALLING SOLAR HEATER
AFTER INSTALLING SOLAR HEATER
1. Solar Heater Placement
Extend the two legs on the underside of the heater and face the heater in the direction of the sun’s natural path. See Figure 1.
Heater - Pool Connections
These instructions assume that the pool and filter system are already assembled
and there is a hose attached to the pool return (pool water inlet).
Place the solar heater in a location where it will receive the greatest amount
of sunlight and at least 10 feet away from pool.
2. Heater - Filter Pump Connection
a) Turn off filter pump.
b) Block water flow at both the pool return inlet and the filter pump outlet
to prevent water from flowing through the hoses.
c) Detach the pool return hose from your filter system and set aside.
d) Depending on the orientation of your pump setup and desired heater placement,
choose one side to be the inlet and the other to be the outlet.
e) Locate long filter hose and attach between pump (the port where the pool return
hose was previously connected.) and the inlet using the included hose clamps .
NOTE: Depending on the size of your hose, the 1¼”-1½” reducer may ne needed.
Insert the reducer inside of the filter hose and attach using hose clamp. Apply a
small amount of silicon based lubricant to the outside of the reducer to allow an
easy fit.
NOTE: Not shown to scale
Leg
Foot
Figure 1

Related product manuals