EasyManua.ls Logo

Gardenline 69834 - Safety Information; Carbon Monoxide Poisoning Danger; General Warnings

Gardenline 69834
8 pages
Print Icon
To Next Page IconTo Next Page
To Next Page IconTo Next Page
To Previous Page IconTo Previous Page
To Previous Page IconTo Previous Page
Loading...
INSTRUCTION MANUAL
Please read carefully before use, and keep this safe for future reference.
DANGER!
RISK OF CARBON MONOXIDE POISONING
Barbecues must not be used indoors or in conned spaces (tents / vehicles)
WARNINGS
For outdoor use only. Do not use indoors!
The barbecue will become very hot during use. Do not move it during operation.
Never leave the barbecue unattended when in use.
Keep children and pets away.
Do not touch metal parts of the barbecue until it has completely cooled down. Barbecue handles will be hot and unsafe to touch during use.
Always wear heat resistant gloves.
Be aware that the surface below the barbecue will become very hot during operation and remain hot for some time afterwards.
Only use the barbecue on a at heat resistant surface, do not place this product on ammable surfaces like dry grass, wood chips or decking.
Beware of plants or other items in close proximity to the barbecue, keep a distance of at least 1.5 m, pay attention to any overhanging trees or plants.
Do not use the barbecue under a parasol, gazebo or awning.
This barbecue is not a patio heater, use it only as a barbecue.
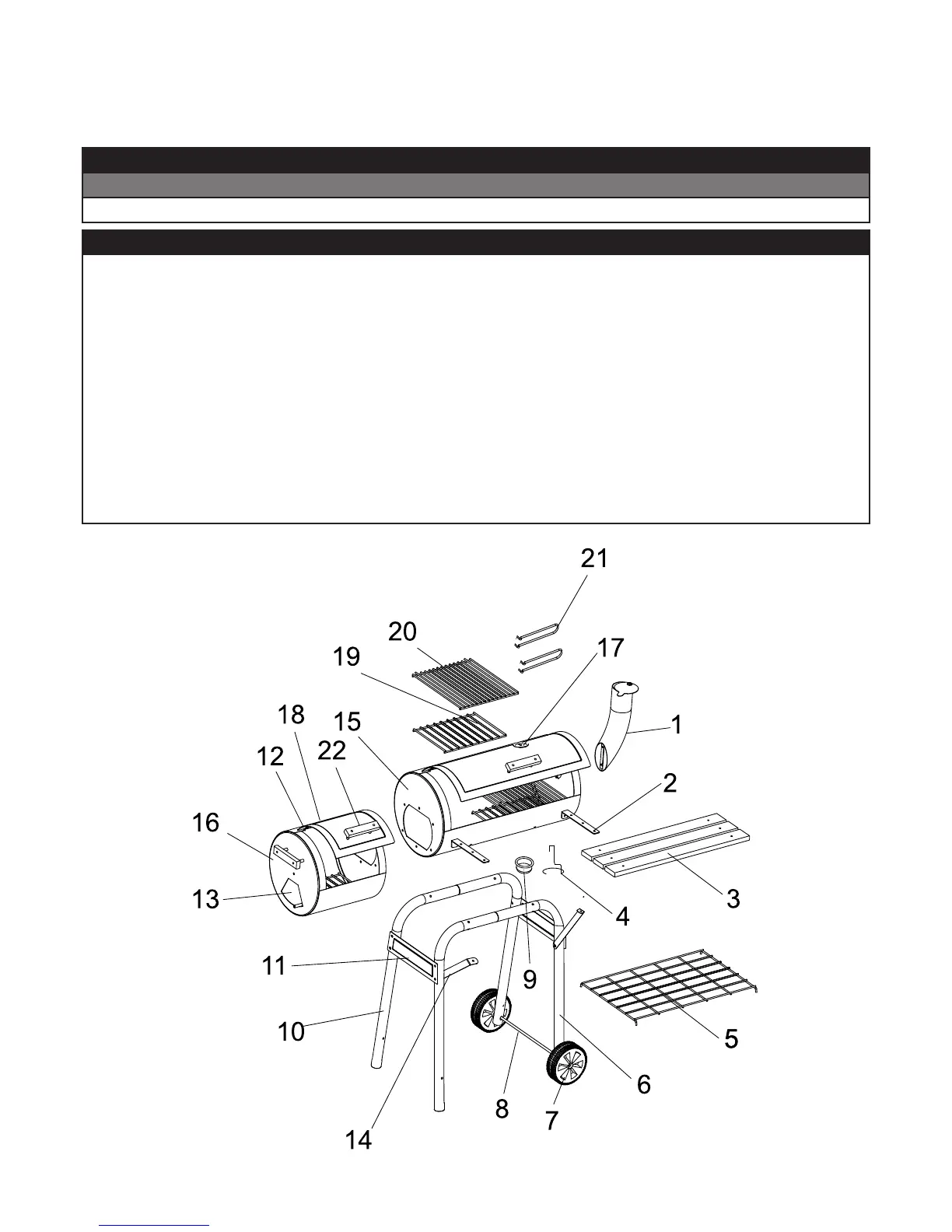
Incorrect construction of the barbecue can be dangerous. Follow carefully all instructions in this manual. Only use the barbecue when it is fully
assembled.
Do not use spirit or petrol for lighting or re-lighting! Do not use alcohol or other uids to light or re-light a barbecue. Use only relighters
complying to EN 1860-3.
1

Related product manuals