EasyManua.ls Logo

GE 22 - Page 36

GE 22
48 pages
Print Icon
To Next Page IconTo Next Page
To Next Page IconTo Next Page
To Previous Page IconTo Previous Page
To Previous Page IconTo Previous Page
Loading...
36
49-60647-5
Trim kits and decorator panels
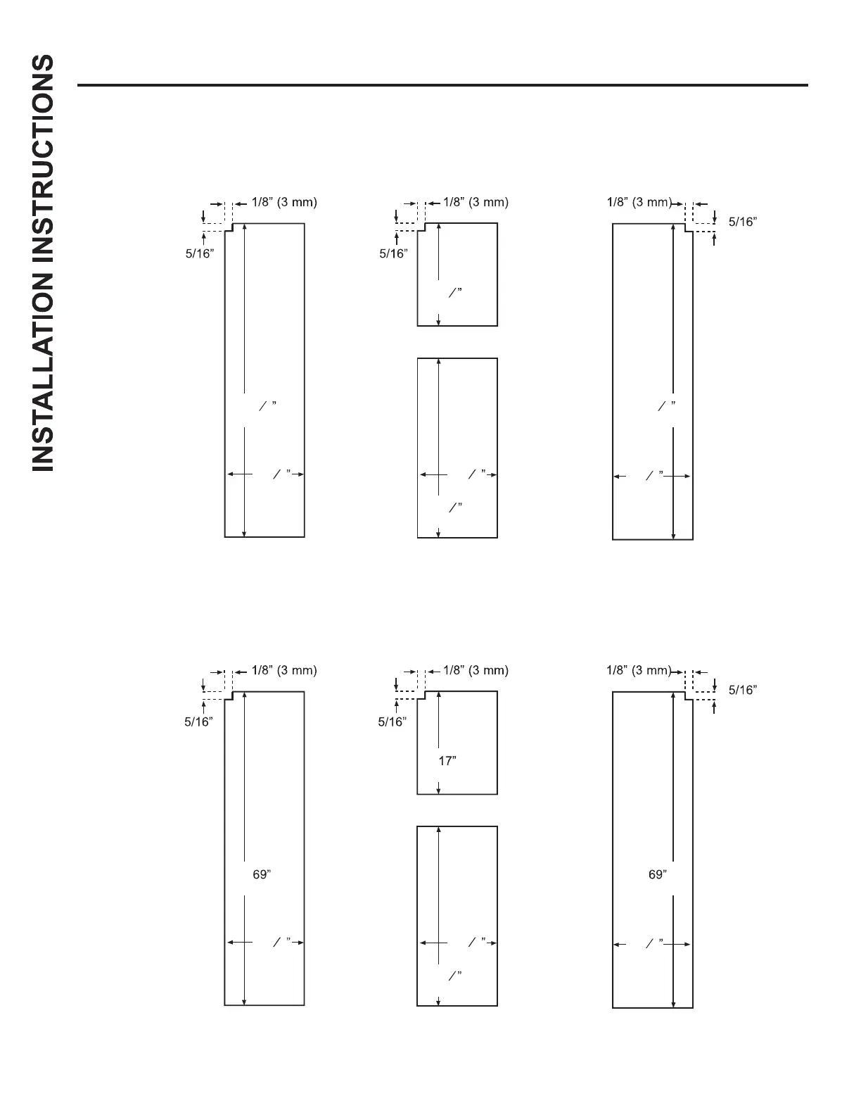
23 Dimensions for Custom Wood Panels
The areas at the top of the panels need to be cut out of the panels.
25
CustomStyle
Dimensions for Custom Wood Panels
The areas at the top of the panels need to be cut out of the panels.
Freeer Panel
Without Dispenser
Freeer Panel
With Dispenser
Cutout
(8 mm)
14
15
32
67
9
32
(170.9 cm)
FRONT
17
7
8
(45.4 cm)
(36.8 cm)
33
5
8
(85.4 cm)
FRONT
Cutout
(8 mm)
Fresh Food Panel
67
9
32
(170.9 cm)
(49.5 cm)
FRONT
Cutout
(8 mm)
19
15
32
14
15
32
(36.8 cm)
Freeer Panel
With Dispenser
Freeer Panel
Without Dispenser
Cutout
(8 mm)
(175.3 cm)
FRONT
(43.2 cm)
36
1
4
(92.0 cm)
FRONT
Cutout
(8 mm)
Fresh Food Panel
(175.3 cm)
FRONT
Cutout
(8 mm)
14
15
32
(36.8 cm)
(49.5 cm)
19
15
32
14
15
32
(36.8 cm)

Other manuals for GE 22

Related product manuals