EasyManua.ls Logo

GE 5500 - Page 38

GE 5500
60 pages
Print Icon
To Next Page IconTo Next Page
To Next Page IconTo Next Page
To Previous Page IconTo Previous Page
To Previous Page IconTo Previous Page
Loading...
38
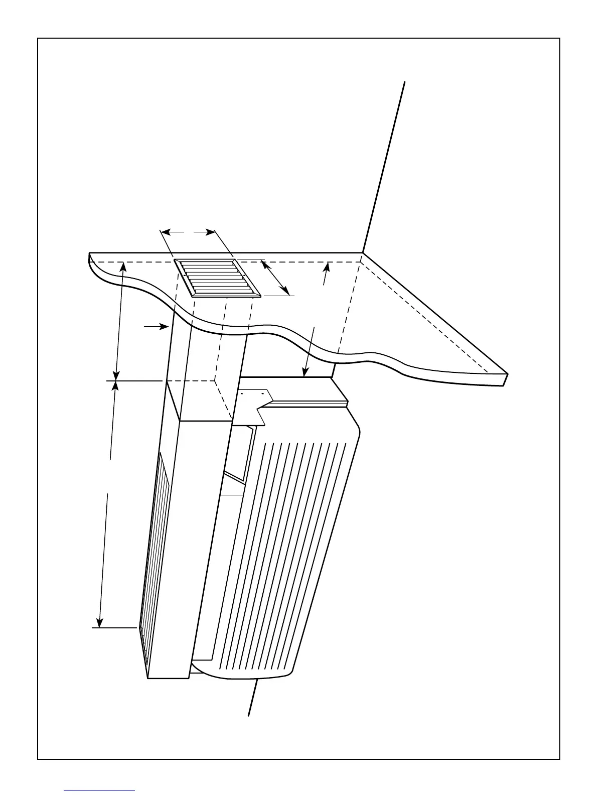
DUCTED APPLICATION (AZ2500/3500 SERIES)
44"
DUCT ADAPTER EXTENSION HAS 1/2" INSULATION
NOTES:
1. RAK6052 kit includes duct adapter, transition and mounting hardware.
2. RAK601 duct extension may be installed at either end of the RAK6052 duct adapter.
Maximum duct extension length is 15'. Duct extension must be field fabricated for
installations where length of duct exceeds length of RAK601 (44"). Field fabricated duct
extension must be insulated to prevent condensation from forming on exterior. Duct
extension may not contain bends or turns.
3. Ducted units may need to be permanently connected. Check local code for specific
electrical installation requirements.
4. Duct extension kit RAK601 contains 44" duct extension, discharge grille mounting collar,
and discharge grille. Duct extension must be cut to required length. Two ducted
installations may be made from one kit if the combined ducted length is less than 44".
RAK602 kit contains mounting collar, discharge grille and mounting hardware necessary
for second installation.
5. Filler strip (field supplied) actual width depends upon wall case projection into room.
A flush installation to finished wall (i.e., no filler strip) can be made.
6. Unit must be installed to provide at least a 2" clearance between side of unit and wall.
7. Provisions for return air must be made in order to allow air circulation from secondary
room. Doors in both secondary and primary rooms may be undercut or a return grille
may be installed through common wall.
8. For replacement of previous design units, see pages 37 and 58.
RAK601
44" LENGTH
RAK6052
ADAPTER
TRANSITION
8" high
RECOMMENDED
MINIMUM
CLEARANCE
2" TO SIDE WALL
7-3/8"
wide
1719 Data Manual 2001 2/14/02 3:12 PM Page 38

Related product manuals