EasyManua.ls Logo

GE 845 - Page 353

GE 845
552 pages
Print Icon
To Next Page IconTo Next Page
To Next Page IconTo Next Page
To Previous Page IconTo Previous Page
To Previous Page IconTo Previous Page
Loading...
CHAPTER 4: SETPOINTS PROTECTION
845 TRANSFORMER PROTECTION SYSTEM – INSTRUCTION MANUAL 4–225
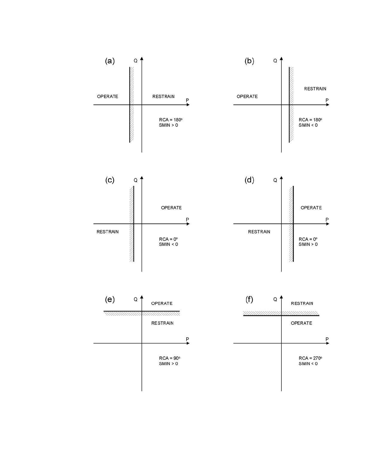
Figure 4-86: Sample applications of the Directional Power element

Table of Contents

Related product manuals