EasyManua.ls Logo

GE CT ProSpeed Series - Page 143

GE CT ProSpeed Series
184 pages
Print Icon
To Next Page IconTo Next Page
To Next Page IconTo Next Page
To Previous Page IconTo Previous Page
To Previous Page IconTo Previous Page
Loading...
*( 0(',&$/ 6<67(06 &7 35263((' 6(5,(6 ,167$//$7,21


5(9
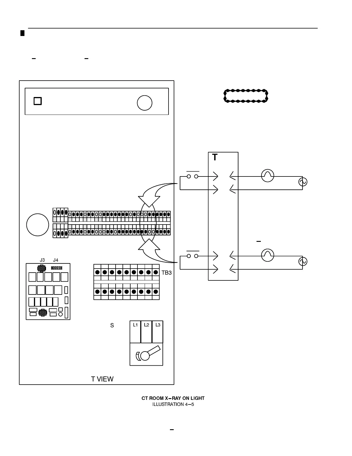
6&$1 5220 ; 5$< 21 /,*+7 $1' 6<67(0 32:(5 21 /,*+7 3'83$%$) FRQWLQXHG
3&
- -
7%
6:
/ / /
)5217 9,(:
7%
.
 


6<67(0 32:(5 21
.
 


52725 21
; 5$< 21
7%
&$87,21
$Q H[WHUQDO SRZHU VRXUFH RI  9$& RU JUHDWHU
VKRXOG QRW EH SURYLGHG RQ WKHVH WHUPLQDOV RI
WKH 3'8 )ROORZ DOO ORFDO DQG FRXQW\ HOHFWULFDO
FRGHV ZKHQ LQVWDOOLQJ D URRP OLJKW
&7 5220 ; 5$< 21 /,*+7
,//8675$7,21

Related product manuals