EasyManua.ls Logo

GE CT ProSpeed Series

GE CT ProSpeed Series
184 pages
To Next Page IconTo Next Page
To Next Page IconTo Next Page
To Previous Page IconTo Previous Page
To Previous Page IconTo Previous Page
Loading...
*( 0(',&$/ 6<67(06 &7 35263((' 6(5,(6 ,167$//$7,21


5(9
,QVWDOODWLRQ $QG /HYHOLQJ 2I 7DEOH %DVH FRQWLQXHG
&$87,21
&UDVK +D]DUG 7LJKWHQ WKH WZR EROWV EHWZHHQ *DQWU\ DQG 7DEOH VHFXUHO\ 2WKHUZLVH WKH
*DQWU\ DQG 7DEOH ZLOO QRW EH VWDEOH
 :KHQ WKH WDEOH LV OHYHO WLJKWHQ WKH EROWV EHWZHHQ WKH 7DEOH DQG WKH *DQWU\ EDVH
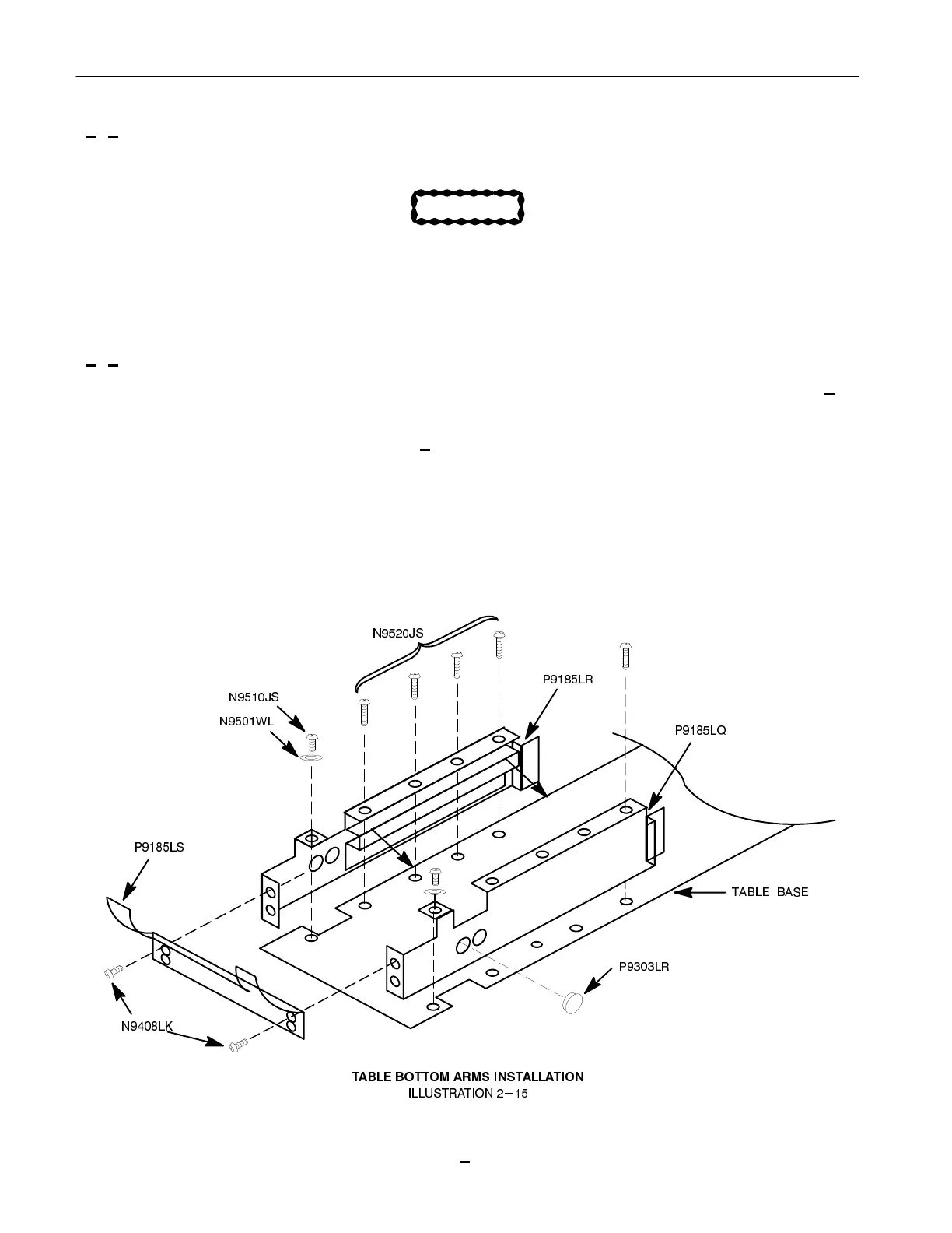
,QVWDOODWLRQ RI 7DEOH %RWWRP $UPV
 6OLGH WKH WDEOH ERWWRP VLGH DUPV 3/5 3/4 RQWR WKH EDVH RI WKH WDEOH DV VKRZQ LQ LOOXVWUDWLRQ

 $OLJQ ERWK DUPV WR WKH EDVH E\ VFUHZLQJ LQ WKH VKRUW OHDG VFUHZ DQG ZDVKHU IRU HDFK DUP 5HIHU WR SDUW QXP
EHUV 1-6 DQG 1:/ LQ LOOXVWUDWLRQ

 )DVWHQ ERWK DUPV WR WKH EDVH E\ VFUHZLQJ LQ WKH HLJKW ORQJ VFUHZV 1-6
 ,QVWDOO WKH IRXU SODVWLF SOXJV 3/5
 $WWDFK WKH IODSSHU DUP 3/6 WR WKH EDFN RI WKH WDEOH DV VKRZQ IRXU VFUHZV 1/.
1-6
3/5
3/4
1-6
1:/
3/6
3/5
1/.
7$%/( %$6(
7$%/( %27720 $506 ,167$//$7,21
,//8675$7,21


Related product manuals